Rapport d'enquête ferroviaire R97H0008

Collision contre un passage supérieur routier
Iron Highway
Train numéro CP 121-13
Point milliaire 102,9, subdivision Winchester
Bedell (Ontario)

Le Bureau de la sécurité des transports du Canada (BST) a enquêté sur cet événement dans le but de promouvoir la sécurité des transports. Le Bureau n’est pas habilité à attribuer ni à déterminer les responsabilités civiles ou pénales. Le présent rapport n’est pas créé pour être utilisé dans le contexte d’une procédure judiciaire, disciplinaire ou autre. Voir Propriété et utilisation du contenu. Les pronoms et les titres de poste masculins peuvent être utilisés pour désigner tous les genres afin de respecter la Loi sur le Bureau canadien d’enquête sur les accidents de transport et de la sécurité des transports (L.C. 1989, ch. 3).

Table des matières

    Résumé

    Le 13 août 1997, une remorque routière transportée à bord d'un train de marchandises du Chemin de fer Canadien Pacifique (CFCP) qui roulait en direction ouest s'est désarrimée et s'est mise en porte-à-faux sur la plate-forme qui la portait, excédant les limites acceptables. Pendant que le train roulait sous un passage supérieur aménagé pour la route de comté no 44, au point milliaire 102,9 de la subdivision Winchester, la remorque en porte-à-faux a heurté les colonnes d'appui du pont. La remorque a subi des dommages considérables, et il a fallu fermer le passage supérieur pendant plusieurs jours. Aucune marchandise dangereuse n'a été mise en cause dans l'accident, et personne n'a été blessé.

    Le Bureau a déterminé que la remorque s'est désarrimée à cause d'un chevalet d'arrimage mal verrouillé qui n'avait pas été détecté lors des inspections avant départ parce qu'en l'absence des renseignements nécessaires, les employés ne pouvaient savoir qu'une cheville indicatrice de verrouillage pouvait rendre le mécanisme de verrouillage inopérant si elle faisait saillie légèrement ou si elle était endommagée.

    La conception-même du mécanisme de verrouillage du chevalet d'arrimage et le manque d'expérience de la gestion et des employés dans l'emploi de la nouvelle technologie ont contribué à l'accident.

    1.0 Renseignements de base

    1.1 L'accident

    Le train de marchandises no121-13 du CFCP (train 121) quitte le triage Côte Saint-Luc à Montréal (Québec) à 10 h 30, et roule en direction ouest sur la voie principale double, près de Bedell (Ontario), à la hauteur du point milliaire 102,9 de la subdivision Winchester. L'équipe d'un train meuleur qui roule en direction est sur la voie sud adjacente remarque que la dernière remorque du train 121 s'est déplacée et, en regardant le train passer sous le passage supérieur de la route de comté no 44, croit voir la remorque en porte-à-faux heurter une partie de la structure d'appui du pont, du côté nord de la voie. Immédiatement avisée par radio du problème possible, l'équipe du train 121 arrête le train. Le chef de train du train 121 confirme alors que la dernière remorque a subi des dommages considérables et qu'elle s'est déplacée d'environ 10 pieds vers l'est et de 5 pieds vers le nord de la plate-forme arrière. Une des quatre colonnes d'appui du passage supérieur s'est arrachée de son socle, et plusieurs étais diagonaux plus petits ont été tordus (voir la Figure 1).

    1.2 Victimes

    Personne n'a été blessé dans l'accident.

    1.3 Dommages

    Le pont a été fermé à la circulation pendant plusieurs jours au cours des travaux de réparation. Aucun matériel roulant n'a déraillé, mais un wagon a subi des dommages mineurs à un portique de levage fait d'acier.

    1.4 Renseignements sur le personnel

    L'équipe de train se composait d'un chef de train et d'un mécanicien, tous deux postés dans la locomotive de tête. Ils connaissaient bien la subdivision et répondaient aux exigences en matière de repos et de condition physique.

    1.5 Méthode de contrôle du mouvement des trains

    Dans la subdivision Winchester, en l'occurrence le secteur où l'événement s'est produit, le mouvement des trains est régi par le système de contrôle de l'occupation de la voie en vertu du Règlement d'exploitation ferroviaire du Canada (REF), et est surveillé par un contrôleur de la circulation ferroviaire posté à Toronto. La vitesse maximale autorisée par l'indicateur est de 60 mi/h pour les trains de marchandises.

    1.6 Renseignements sur le train

    1.6.1 Train 121

    Le train 121 était un matériel roulant de conception spéciale qu'on appelle couramment Iron Highway. Le train, dont le groupe de traction comptait deux locomotives, mesurait environ 1 400 pieds et pesait quelque 1 130 tonnes. Il transportait 16 remorques routières, dont 9 étaient vides.

    1.6.2 Le Iron Highway

    Le Iron Highway est une technologie relativement nouvelle qui appartient à la CSX Intermodal Incorporated. Au Canada, le CFCP exploite le Iron Highway dans le cadre d'un projet pilote en vertu d'un bail de 24 mois, sur les voies du Chemin de fer Saint-Laurent et Hudson (StL&H). Le Iron Highway est en fait une plate-forme continue sur roues (voir la Figure 2). Contrairement à la technologie conventionnelle faisant appel à des wagons plats, le Iron Highway est constitué de 40 plates-formes articulées de 30 pieds, de 2 plates-formes d'adaptation (une à chaque bout du train, équipées toutes deux d'un portique de levage) et d'une « rampe articulée » située au centre du train. Chaque plate-forme de 30 pieds est munie d'un chevalet d'arrimage qui permet de transporter une remorque routière. Quand on emploie des remorques de taille standard de 48 à 53 pieds de longueur, la remorque chevauche un des points d'articulation. Les plates-formes sont reliées entre elles par des attelages sans jeu. Les roues sont montées sur des essieux indépendants et sont placées aux joints d'articulation. Des bras de direction assurent l'orientation forcée des plates-formes. Les plates-formes ont une suspension élastomère qui permet une plus grande douceur de roulement que les suspensions classiques à ressorts d'acier.

    L'unité complète fonctionne en un seul bloc, appelé « Élément ». Grâce à la rampe articulée, l'Élément peut se séparer à mi-longueur, ce qui crée deux rampes de chargement. On peut alors charger l'Élément sans avoir à se servir de grues ou d'autres appareils de levage lourds.

    Avant la mise en service, un prototype a été soumis à des essais exhaustifs au centre d'essais de l'Association of American Railroads (AAR), à Pueblo au Colorado. Les essais ont révélé que les porteuses assuraient une tenue en voie aussi bonne, sinon meilleure, que celle du matériel intermodal existant, sauf pour ce qui est de l'amortissement dans le plan vertical. L'Élément était muni d'équipement fonctionnel d'amortissement au cours des essais, lesquels ont été menés à des vitesses en voie atteignant 70 mi/h.

    Les Éléments sont conçus de façon que plusieurs d'entre eux puissent être attelés ensemble dans un même train si une longueur supplémentaire de plate-forme est nécessaire. Le CFCP exploite un Élément par train, et fait rouler deux rames du Iron Highway. Les deux rames sont exploitées en service captif entre Montréal et Toronto depuis le 15 novembre 1996. Chaque Élément fait normalement un voyage aller et retour par jour, dont les heures d'arrivée et de départ dans chaque ville sont presque les mêmes.

    En raison de leur conception particulière, les trains sont dispensés de certaines exigences de Transports Canada.

    1.6.3 Opérations au terminal

    Le CFCP a confié à une compagnie distincte, la Rail Term, le contrat d'exploitation de ses terminaux de Côte Saint-Luc et de West Toronto. Les employés de la Rail Term sont expérimentés surtout dans les domaines du transport ferroviaire ou du transport routier. Le CFCP a un représentant en poste à Toronto, qui assure le soutien de tout le projet. La Rail Term compte sur un personnel de 30 à 35 employés, y compris les gestionnaires et les surveillants. Le personnel de la Rail Term s'occupe du chargement et du déchargement du train ainsi que des inspections et d'une grande partie de l'entretien régulier du matériel roulant du Iron Highway.

    1.7 Renseignements sur le lieu de l'événement

    Dans le secteur où l'événement s'est produit, la voie principale double décrit une courbe. La voie est faite de longs rails soudés Algoma de 130 livres, posés sur des selles de 14 pouces à double épaulement, le tout reposant sur des traverses de bois dur et retenu à chaque traverse par six crampons. Le 7 août 1997, soit six jours avant l'événement, le CFCP a fait rouler une voiture TEST en direction ouest dans la subdivision Winchester. Aucune anomalie sérieuse de la voie n'a été relevée à cette occasion. Bien que la plupart des courbes de la subdivision Winchester aient moins de deux °, le dévers est beaucoup trop prononcé pour ce qui est exigé par la vitesse limite affichée, soit 60 mi/h. Le tableau de l'annexe A présente des détails sur les courbes qui se trouvent entre le point milliaire 22,0 et le lieu de l'accident.

    1.8 Formation

    Le CFCP a dispensé un cours de six semaines aux employés de la Rail Term avant le début de l'exploitation. Les employés ont dû réussir un examen écrit avec livre ouvert et se soumettre à un test d'exploitation pour obtenir le certificat d'inspecteur du Iron Highway. La formation a porté notamment sur des fonctions associées au chargement et au déchargement des remorques, ainsi qu'à l'inspection et à l'entretien de l'Élément et des locomotives. Les autres employés ont reçu une formation sur le tas, donnée par des collègues de la Rail Term qui avaient déjà reçu la formation. Les nouveaux employés ne remplissaient que les fonctions pour lesquelles ils avaient été formés, par exemple les tâches d'ouverture de barrières et de « préposés à la mise en place ». Les préposés à la mise en place travaillent sur le terrain et aident le conducteur de camion-navette à placer correctement les remorques au cours du chargement et du déchargement. Ils se chargent aussi de l'inspection initiale des chevalets d'arrimage « verrouillés ».

    En juillet 1997, le syndicat des Travailleurs et travailleuses de l'automobile a obtenu pour ses membres le droit d'exécuter certaines tâches, à savoir des inspections de sécurité, des essais de freins et des inspections au défilé, qui étaient auparavant confiées aux employés de la Rail Term. Les employés de la Rail Term continuent de s'occuper des réparations telles que les remplacements de roues et de chevalets d'arrimage. Les inspections de sécurité visent à détecter des défaillances des pièces mécaniques critiques telles que les roues, les freins, les pièces de suspension et les chevalets d'arrimage. Toutefois, au moment des inspections de sécurité, le train est déchargé et les chevalets d'arrimage sont abaissés sur le plancher.

    Les membres du syndicat des Travailleurs et travailleuses de l'automobile sont des inspecteurs de wagons autorisés et ont été formés conformément au programme régulier de certification des wagonniers du CFCP. Comme ce programme ne traitait pas beaucoup de matériel roulant identique à celui du Iron Highway, le CFCP a donné un cours de trois jours sur cette technologie aux employés susceptibles d'être affectés au Iron Highway. Ces employés travaillent aux triages Côte Saint-Luc et West Toronto.

    Les surveillants de la Rail Term ne sont pas tenus d'avoir des connaissances en mécanique (matériel roulant), bien que certains d'entre eux en possèdent. Avant qu'on décide de louer le matériel roulant du Iron Highway, ni la gestion du CFCP ni celle de la Rail Term n'avaient d'expérience dans l'emploi de cette technologie. Depuis lors, tous les intéressés ont acquis une meilleure compréhension du matériel roulant à mesure qu'ils ont réglé les problèmes courants d'exploitation de ce nouveau matériel roulant.

    1.9 Conception de la remorque

    La remorque routière en cause dans l'accident, l'unité no CTC 36502, appartenait à la Société Canadian Tire Limitée. Elle a été construite en juin 1995 aux ateliers de la Manac Inc., d'Orangeville (Ontario). Il s'agit d'une remorque dite « fermée » construite surtout d'aluminium et munie d'essieux tandem, d'une porte arrière à rideau et d'un toit de fibre de verre. Ses dimensions spécifiées étaient de 2,6 m sur 4,0 m sur 16,2 m, mais la remorque était plus couramment désignée comme étant une remorque de 53 pieds de type fourgon. Le poids nominal brut du véhicule était de 32 000 kilogrammes (70 400 livres). La dernière inspection annuelle de la remorque remontait à mai 1997.

    La remorque était fixée au chevalet d'arrimage placé sur la plate-forme identifiée par la désignation alphabétique « AP ». La plate-forme AP était l'avant-dernière plate-forme de l'Élément (c'est-à-dire qu'elle précédait la plate-forme de queue). Pendant que le train roulait vers l'ouest, le dispositif d'arrimage de la remorque était orienté vers l'avant. La remorque chevauchait deux plates-formes, ses essieux tandem étant placés sur la dernière plate-forme de l'Élément (voir la Figure 3). Pendant le transport, les canalisations d'air de la remorque ne sont pas sous pression, ce qui signifie que les freins de stationnement de la remorque, actionnés par ressort, étaient serrés à fond.

    La superstructure de la remorque a subi des dommages considérables lors de l'accident. On a relevé une petite marque arrondie révélant un impact sur le pivot d'attelage, et la plaque d'appui voisine montrait des éraflures qui concordaient avec le sens de mouvement du train. On a mesuré le pivot d'attelage de la remorque à l'aide d'un calibre pour pivots d'attelage Holland pour déterminer l'usure en fonction de quatre paramètres différents; les résultats ont indiqué une usure acceptable. Des essais des freins de la remorque ont révélé que les freins fonctionnaient et qu'ils étaient bien réglés. La remorque ne portait aucun signe de dommages antérieurs à l'accident.

    En général, les remorques de tous les modèles sont munies d'une plaque d'acier doux fixée au châssis, qui couvre la surface allant de l'avant de la remorque jusqu'à environ 14 pouces derrière le pivot d'attelage. Cette plaque renforce le plancher dans une zone porteuse et transmet les efforts de l'avant de la remorque au système de suspension d'un tracteur ou à l'attelage d'un wagon. La plaque constitue aussi une surface lisse sur laquelle la sellette d'attelage d'un tracteur peut glisser lorsqu'on attelle ou dételle des remorques. Au-delà de cette plaque d'acier, le reste du châssis du plancher est habituellement exposé et laisse voir ses pièces de structure (c'est-à-dire les entretoises et les raidisseurs).

    Beaucoup de remorques, comme celle qui a été mise en cause dans cet accident, ont une capacité de charge de 35 tonnes (32 000 kilogrammes). On ignore s'il arrive qu'une ou des remorques soient surchargées, car il est rare que des remorques soient pesées à un bout ou l'autre du cycle de livraison.

    1.10 Chevalets d'arrimage Trinity LP-9

    Les 16 remorques chargées à bord du train 121 étaient retenues en place par des chevalets d'arrimage Trinity LP-9 (voir la Figure 4). Les chevalets de ce type, appelés chevalets relevables rétractables, verrouillent automatiquement l'étai oblique ainsi que le rotor du pivot d'attelage de la remorque lorsque celui-ci s'engage dans le plateau d'arrimage. Les chevalets sont fabriqués par la Trinity Industries de Dallas au Texas et sont conçus pour une charge maximale du pivot d'attelage de 30 000 livres. Bien qu'ils ne soient pas approuvés par l'AAR, ils sont semblables aux chevalets d'arrimage LP-3 approuvés par l'AAR (fabriqués de 1968 à 1973) et aux chevalets d'arrimage LP-8 qui sont utilisés pour le service maritime depuis 1971 et dont plus de 6 000 unités sont actuellement en service. Le chevalet d'arrimage LP-9 a été précisément adapté pour être utilisé dans le cadre du projet du Iron Highway. Il n'a pas d'autre utilité connue dans le domaine ferroviaire. Quand le chevalet est relevé en position verticale, son plateau aborde le pivot d'attelage par l'arrière, c'est-à-dire dans le sens contraire de la sellette d'attelage d'un tracteur routier normal.

    La norme qui s'applique pour les chevalets d'arrimage des wagons est rédigée par la division mécanique de l'AAR dans le livre I du Manual of Standards and Recommended Practices . La spécification M-928-87, intitulée Highway Trailer Hitches for Freight Cars (chevalets d'arrimage de remorques routières pour les wagons de marchandises), stipule que cette spécification traite des caractéristiques mécaniques, de la structure et des exigences en matière d'essais des chevalets d'arrimage des remorques routières ayant une capacité maximale brute de 65 000 livres.

    Un chevalet d'arrimage avec amortisseur a été soumis à un test de 7 000 cycles lors de l'essai du prototype pour vérifier l'usure des pivots d'attelage et pour s'assurer que le verrou de l'étai oblique se fermait bien. On a utilisé une paire d'amortisseurs pneumatiques plutôt que l'amortisseur hydraulique unique dont sont équipés tous les chevalets utilisés pour le Iron Highway. Le taux d'abaissement des amortisseurs pneumatiques était le même que celui des amortisseurs hydrauliques. De plus, l'essai consistait à utiliser un camion-navette pour relever et abaisser un chevalet d'arrimage, lequel était boulonné au sol plutôt que sur le plancher d'une plate-forme de chargement. On n'a pas employé de remorque de transport routier lors des essais; par conséquent, on n'a pas étudié l'interaction remorque-chevalet.

    Le chevalet d'arrimage en cause dans l'accident ne semblait pas avoir subi de dommages. Lors de l'inspection, le chevalet était relevé avec l'étai oblique en position verrouillée et le rotor du plateau d'arrimage en position déverrouillée. Les seules anomalies relevées étaient un amortisseur hydraulique qui fuyait et une cheville indicatrice de verrouillage tordue dans le plateau d'arrimage.

    Lors de l'examen des procédures générales de chargement, les employés de la Rail Term ont déclaré que les chevalets d'arrimage des dernières positions de l'Élément étaient ceux qui servaient le plus fréquemment. L'usure de ces chevalets devrait donc être plus grande que celle des chevalets moins utilisés.

    1.11 Méthodes d'inspection du chargement

    Des instructions écrites sur le chargement et le déchargement du Iron Highway sont fournies à chaque employé et sont disponibles sur place. Au sujet de l'inspection du verrouillage du pivot d'attelage, le manuel de l'opérateur du Iron Highway stipule que l'équipe au sol devrait s'assurer que la remorque est chargée correctement sur la plate-forme en veillant à ce que les rotors (jams) du chevalet d'arrimage soient verrouillés autour de la tige de la remorque et que l'équipe devrait regarder derrière le plateau d'arrimage pour voir s'il y a une patte jaune qui indique un déverrouillage. Si les rotors ne sont pas verrouillés, il faut placer la remorque de façon à permettre aux rotors de se verrouiller. Au besoin, on doit retirer la remorque et inspecter le chevalet d'arrimage. Si les rotors ne se verrouillent pas, il faut éviter de se servir du chevalet d'arrimage pour assujettir une remorque. Si le chevalet d'arrimage est défectueux, il faut le remplacer.

    À la section 4.1.7 du guide de formation des opérateurs du Iron Highway, on dit, au sujet des plaques de verrouillage du pivot d'attelage, qu'il faut vérifier si la plaque de verrouillage est fissurée, vérifier tous les dispositifs de retenue de la tige et vérifier le drapeau indicateur du mécanisme de verrouillage.

    1.12 Chevilles indicatrices de verrouillage

    1.12.1 Conception des chevilles indicatrices de verrouillage

    Chaque cheville indicatrice s'ajuste à la configuration de chaque plateau d'arrimage, étant donné qu'elle doit s'ajuster aux tolérances d'autres pièces connexes. Le système est conçu de façon que la cheville soit 1/16 de pouce sous la surface extérieure de la plaque qui l'entoure lorsqu'elle est en position verrouillée. La Figure 5 montre une illustration tirée du manuel de l'opérateur du Iron Highway et décrit une cheville indicatrice en position verrouillée et en position déverrouillée. La cheville en position verrouillée apparaît comme étant à l'intérieur de la plaque de 1/4 de pouce, plutôt que 1/16 de pouce sous la surface extérieure de la plaque comme elle devrait l'être.

    La profondeur d'engagement normale du plongeur de verrouillage est de 7/8 de pouce lorsque ce dernier est complètement verrouillé. La cheville indicatrice de verrouillage est conçue pour faire saillie d'au moins 3/4 de pouce pour indiquer qu'elle est en position déverrouillée.

    La position des chevilles indicatrices des chevalets d'arrimage verrouillés variait. Des employés ont signalé que certaines chevilles considérées comme étant en position « verrouillée » étaient à l'intérieur par rapport à la plaque; d'autres affleuraient ou faisaient même un peu saillie.

    1.12.2 Inspections des chevilles indicatrices

    Les employés de la Rail Term ont décrit comme il suit leur méthode d'inspection des chevilles de verrouillage :

    • le « préposé à la mise en place » écoute pour entendre le « claquement » caractéristique du plongeur qui s'engage dans le rotor;
    • le « préposé à la mise en place » regarde pour confirmer que la cheville indicatrice de couleur s'est enfoncée;
    • le surveillant qui fait l'inspection extérieure après que les remorques sont chargées examine visuellement chaque cheville indicatrice pour confirmer qu'elle est en position verrouillée.

    Les inspecteurs de wagons du CFCP ne font pas de visites à l'arrêt de l'Élément après le chargement des remorques. Les inspecteurs de wagons postés de chaque côté du train procèdent à une inspection au défilé au moment du départ. Toutefois, lors de l'inspection au défilé, la moitié des chevalets d'arrimage du train sont orientés à l'inverse du sens du mouvement, ce qui signifie que la moitié des chevilles indicatrices ne font pas face à l'inspecteur lorsque le train roule. La cheville indicatrice du chevalet d'arrimage mis en cause dans l'accident faisait face à l'inspecteur lors de l'inspection au défilé effectuée au triage Côte Saint-Luc.

    Il doit y avoir un changement perceptible dans la position de la cheville pour qu'un employé fasse la distinction entre une cheville indicatrice verrouillée ou déverrouillée. La différence entre la position de verrouillage complet et la position de déverrouillage complet consiste en un écart d'environ 20 mm (3/4 de pouce), quand toutes les pièces du mécanisme de verrouillage fonctionnent comme prévu. Au cours des inspections au niveau du sol, les employés se trouvent à une distance de 7 à 10 pieds des chevilles indicatrices.

    1.13 Autres renseignements

    1.13.1 Laboratoire technique du BST

    Le chevalet de la plate-forme AP a été retiré de l'Élément et expédié aux ateliers Weston du CFCP, à Winnipeg (Manitoba) pour y être démonté et analysé par le personnel du CFCP, de CSX, de Trinity et du BST. Par la suite, il a été envoyé au Laboratoire technique du BST aux fins d'analyses plus poussées.

    Quand elle était placée en position « verrouillée », la cheville indicatrice de verrouillage faisait saillie de 10 mm (3/8 de pouce) par rapport à la position d'affleurement normale. Le démontage a révélé que la cheville indicatrice était courbée vers le haut de 11 mm à un angle d'environ 15 °, sur une longueur de 48 mm (voir la Figure 6).

    Comme les remorques de longueur courante chevauchent un point d'articulation, la distance entre le point où les roues de la remorque sont en contact avec le plancher et celui où le pivot d'attelage est monté dans le chevalet varie lorsque que le train roule dans les courbes. Le pivot d'attelage étant fixe dans le chevalet et la remorque étant un corps rigide, la variation de distance est absorbée par le glissement des pneus de la remorque sur le pont de l'Élément. À partir des dimensions de la remorque en cause et des composantes de l'Élément, on a calculé que la différence de distance était de moins 0,94 pouce dans la première courbe à partir du triage Côte Saint-Luc à Montréal. L'écart de distance a été mesuré près du pneu pendant le passage du train dans la même courbe, et a été établi à environ un pouce.

    Les examens en laboratoire ont révélé que le pivot d'attelage de la remorque devait s'avancer de 13 pouces 1/2 pour dégager la saillie avant du plateau d'arrimage dans l'une ou l'autre des directions latérales. Toutefois, il suffit que le pivot d'attelage se déplace de 1 pouce 13/16 pour quitter le chevalet d'arrimage verticalement sans que la plaque supérieure puisse le retenir. Il doit se relever de 2 pouces 3/8 à la verticale pour dégager le plateau d'arrimage.

    L'examen a aussi démontré que, si l'accélération vers l'avant du plateau d'arrimage est suffisante, l'inertie résultante de la cheville indicatrice cause une surcompression du ressort, ce qui fait que la cheville indicatrice peut aller au-delà de la zone de protection du chevalet, là où est elle est vulnérable et risque d'être endommagée (voir la Figure 7).

    Les employés du CFCP et de la Rail Term, y compris les gestionnaires, ont signalé que des chevilles indicatrices étaient déjà restées coincées sur la face inférieure de la structure du plancher de certaines remorques, pendant l'abaissement du chevalet d'arrimage (voir la Figure 8).

    Des essais ont démontré que plusieurs bruits se produisent lorsque le pivot d'attelage s'engage dans le chevalet, notamment au moment où le pivot d'attelage vient en contact avec l'extrémité de la rainure du plateau d'arrimage, où le rotor vient en contact avec le butoir de roues et où le plongeur vient en contact avec sa butée de fin de course.

    Le rapport du Laboratoire technique du BST (noLP 150/97) a retenu notamment les conclusions suivantes :

    • Le rotor du chevalet d'arrimage en cause n'était pas verrouillé correctement à la position de fermeture.
    • La cheville indicatrice de verrouillage du rotor était courbée et empêchait le ressort de verrouillage du plongeur de fonctionner.
    • Le plongeur de verrouillage du rotor « flottait » librement dans son guide.
    • L'extrémité du plongeur de verrouillage du rotor est inclinée, de sorte que le rotor se déverrouille de lui-même si le plongeur n'est pas engagé entièrement (voir la Figure 9).
    • La cheville indicatrice de verrouillage du rotor était courbée par suite d'un contact avec les nervures du plancher de la remorque, occasionné par une extension excessive lors de l'abaissement du chevalet.
    • Le chevalet d'arrimage n'est pas muni d'un mécanisme secondaire de verrouillage qui retient le pivot d'attelage de la remorque au cas où le verrouillage principal ne fonctionnerait pas ou ne s'engagerait pas complètement.
    • Si le chevalet d'arrimage d'une remorque n'est pas verrouillé, il peut laisser la remorque bouger légèrement vers l'avant pendant les mouvements d'articulation des deux plates-formes sur lesquelles la remorque repose.
    • L'absence d'amortisseurs rotatifs sur l'Élément a dû affecter ses caractéristiques d'amortissement et a pu contribuer à un mouvement anormal de galop vertical.
    • Les remorques ne sont pas conçues pour s'ajuster à des chevalets d'arrimage ferroviaire en position inverse de celle qu'elles occupent normalement pendant le transport routier.
    • Le fonctionnement des chevalets d'arrimage ferroviaires avec des remorques de transport routier est différent de celui des appareils servant au transport routier.

    Le chevalet d'arrimage est conçu de façon à ce que le plongeur du rotor ne devrait pas se déverrouiller de lui-même lorsque la profondeur d'engagement du plongeur est supérieure à environ 1/8 de pouce.

    1.13.2 Entretien

    1.13.2.1 Train

    L'examen de l'Élément à West Toronto a révélé les défaillances mécaniques suivantes :

    Composante Total
    Conducteur tressé brisé/manquant 9
    Amortisseur rotatif manquant/débranché 25
    Capteur de frein manquant/débranché 5
    Amortisseur hydraulique manquant/défectueux (chevalet d'arrimage) 6

    L'amortisseur rotatif (Vibratech) dont le matériel roulant Iron Highway est équipé est très répandu dans l'industrie du transport de voyageurs et des navettes quotidiennes. Il est censé améliorer les caractéristiques de roulement du matériel en atténuant le rebondissement vertical, et est censé améliorer la capacité d'amortissement critique de 20 à 27 p. 100. Chaque Élément compte 84 amortisseurs. À neuf endroits, les amortisseurs étaient absents ou débranchés d'un côté seulement, et ils étaient absents ou débranchés des deux côtés à huit autres endroits, notamment à l'extrémité du chevalet de la plate-forme AP (sur laquelle la remorque était arrimée) et à la plate-forme précédente. Les 25 amortisseurs manquants ou débranchés représentent environ 30 p. 100 du nombre total d'amortisseurs de l'Élément complet.

    Le Règlement concernant l'inspection et la sécurité des wagons de marchandises précise que :

    Les compagnies ferroviaires ne doivent pas mettre ni maintenir en service un wagon quand . . . b) la suspension d'un bogie est inopérante, selon les indications suivantes : . . . iii. ressorts ou amortisseurs à friction hydrauliques ne maintenant ni leur course ni leur charge.

    La section 4.18 du manuel de l'opérateur du Iron Highway stipule qu'on doit inspecter l'amortisseur rotatif. Ces amortisseurs ne doivent pas être lâches ni endommagés.

    1.13.2.2 Chevalet d'arrimage

    Il n'y avait pas de chevalets d'arrimage à 13 des 40 emplacements prévus à cette fin. On avait retiré les chevalets et on les avait utilisés pour en remplacer d'autres, car ils étaient à des emplacements où ils ne servaient pas (pour des remorques de 20 pieds). Aux 27 emplacements restants, 5 chevalets d'arrimage n'étaient pas équipés de l'amortisseur hydraulique devant atténuer l'impact du chevalet contre le plancher du wagon plat lorsqu'on abaisse le chevalet. Sur 3 autres, les amortisseurs hydrauliques étaient présents mais ne fonctionnaient pas correctement. Sur 2 plateaux d'arrimage qu'on avait rebâtis récemment, les boulons du « frein » de l'indicateur de verrouillage n'étaient pas soudés. Des employés du CFCP ont signalé qu'ils avaient remplacé des « brides en C » brisées ou manquantes, qui doivent retenir les tiges servant à fixer les chevalets d'arrimage au wagon. Les dates d'inspection et de lubrification périodiques marquées au pochoir sur la plupart des chevalets d'arrimage étaient expirées. Des employés du Iron Highway ont affirmé qu'à l'occasion, du fait que le matériel séjourne plus longtemps au terminal le samedi, ils en profitaient pour inspecter les chevalets d'arrimage, et qu'au besoin, ils faisaient fonctionner et graissaient les chevalets par la même occasion.

    Les dossiers d'entretien montrent qu'on a trouvé des chevilles indicatrices de verrouillage courbées pendant les inspections des trains. Les dossiers de réparation montrent qu'on a redressé ces chevilles en les chauffant à l'aide d'un chalumeau oxyacétylénique. Un examen plus poussé de quelques chevalets d'arrimage qu'on avait retirés en vue de réparations au terminal de West Toronto montre que 6 chevalets d'arrimage sur 19 avaient des chevilles indicatrices courbées. L'extrémité extérieure de plusieurs chevilles indicatrices était généralement sale ou écaillée et ne portait presque plus de traces de la peinture jaune censée leur donner plus de visibilité. L'extrémité des chevilles est peinturée la même couleur que la portion cylindrique des chevilles. Sur certains chevalets d'arrimage, on pouvait voir un excédent de peinture pulvérisée autour de l'extrémité de la cheville indicatrice de verrouillage du rotor. Sur d'autres plateaux d'arrimage, la cheville indicatrice était peinte en vert plutôt qu'en jaune.

    1.13.3 Communications

    Certains employés de la Rail Term et du CFCP ont dit ne pas être certains de la portée de leurs responsabilités. Par exemple, plusieurs employés de la Rail Term ne pouvaient pas dire avec certitude à qui l'entretien des chevalets d'arrimage incombait.

    Des inspecteurs de wagons du CFCP se sont dits préoccupés par le manque de directives claires quant à leurs tâches d'inspection. Certains trouvaient qu'on ne leur donnait pas une liste spécifique des pièces à inspecter, ni d'instructions explicites sur les composantes de l'Élément qui étaient « critiques au point de vue de la sécurité ». Fréquemment, les dossiers d'inspection et de réparation montraient que des pièces brisées ou manquantes de l'Élément n'étaient « pas en stock ».

    Souvent, les inspecteurs de wagons du CFCP signalaient à répétition les mêmes défectuosités sur le même train, pour les raisons suivantes :

    • le nombre relativement élevé de pièces brisées ou manquantes dans l'Élément;
    • la non-disponibilité des pièces de rechange;
    • la nature répétitive de l'horaire de circulation de l'Élément;
    • la pratique voulant qu'on reporte à des dates ultérieures (par exemple le samedi) certains travaux d'entretien non essentiels.

    Les inspecteurs de wagons du CFCP indiquaient sur papier les défectuosités, les pièces manquantes et les travaux d'entretien nécessaires, et en faisaient part au surveillant de la Rail Term. Il était rare que les inspecteurs de wagons du CFCP recevaient une rétroaction de la Rail Term au sujet des réparations effectuées ou de celles qu'on entendait faire. De même, les surveillants des inspecteurs de wagons du CFCP n'ont pas un accès direct au terminal de la Rail Term. La surveillance des réparations commandées par les inspecteurs de wagons du CFCP est assurée indirectement par les surveillants de la Rail Term et du CFCP.

    Certains employés du CFCP se sont dits préoccupés par le manque d'uniformité dans la terminologie relative aux pièces et aux méthodes d'entretien. Plus particulièrement, une méconnaissance des termes techniques de certaines pièces de l'Élément a donné lieu à l'utilisation de termes non uniformisés, ce qui a entraîné une certaine ambiguïté dans les communications écrites et verbales.

    1.13.4 Transport intermodal - Chargement des wagons et arrimage

    Le paragraphe 15 j) du Règlement concernant l'inspection et la sécurité des wagons de marchandises indique que les compagnies ferroviaires ne doivent pas mettre ni maintenir en service un wagon si ce wagon est un wagon plat chargé dont les dispositifs d'arrimage sont usés ou endommagés au point de ne plus remplir leur fonction.

    En 1994, la Federal Railroad Administration (FRA) des États-Unis a rédigé un rapport, intitulé Trailer-on-Flat Car and Container-on-Flat Car Loading and Securement Safety (Sécurité dans le chargement et l'arrimage de remorques et de conteneurs sur wagon plat). Le rapport a déterminé qu'entre 1983 et 1993 aux États-Unis, 108 accidents ou incidents ont été causés par des problèmes survenus lors du chargement de remorques ou conteneurs sur wagon plat, dont 60 p. 100 étaient dus à un mauvais arrimage de la charge, 30 p. 100 au chargement ou à la cargaison, et le reste, soit 10 p. 100, à « d'autres causes ».

    En matière de sécurité, la principale préoccupation signalée dans le rapport concernait la nécessité de procéder, après le chargement et avant le départ, à une inspection du système d'arrimage, inspection qui serait confiée à un inspecteur compétent.

    En réponse aux lacunes relatives aux opérations de chargement des remorques ou conteneurs sur wagon plat, la FRA a proposé que la FRA et l'industrie fassent conjointement la promotion de certaines mesures de sécurité, énumérées à l'annexe B.

    2.0 Analyse

    L'équipe du train meuleur a aperçu la remorque déplacée sur l'Élément immédiatement avant que le train arrive au pont d'acier situé près de Bedell (Ontario). La méthode d'exploitation du train n'est pas en cause dans cet accident. L'analyse s'intéressera à la façon dont la remorque s'est désarrimée de l'Élément, ainsi qu'à la conception et à l'exploitation du matériel roulant du Iron Highway.

    2.1 L'événement

    Après l'accident, l'examen des pièces démontées a révélé que la cheville indicatrice de verrouillage du rotor était courbée. On estime que la cheville indicatrice de verrouillage n'a pas été tordue par la remorque en cause dans l'accident, et ce pour les raisons suivantes : 1) le dessous de caisse du plancher de la remorque ne portait pas de marques inhabituelles; 2) aucune traverse de plancher n'était tordue; et 3) les essais ont montré que l'extension excessive de la cheville indicatrice de verrouillage se produit pendant le déchargement, lorsqu'on abaisse les chevalets d'arrimage, plutôt que pendant le chargement des remorques. Par conséquent, la cheville indicatrice de verrouillage a été endommagée avant la dernière opération de chargement.

    Au cours de l'opération de chargement du 13 août 1997, le verrou du chevalet d'arrimage s'est probablement activé; toutefois, comme une cheville indicatrice courbée empêchait le ressort de fonctionner, le plongeur de verrouillage n'a pas été forcé de s'engager complètement dans le rotor, de sorte qu'il « flottait ». Du fait que le plongeur de verrouillage, en plus d'être incliné, bougeait librement, le plateau d'arrimage s'est dégagé de lui-même pendant le trajet entre Côte Saint-Luc et Bedell. En l'absence de mécanisme de verrouillage auxiliaire, la remorque n'était plus retenue au chevalet d'arrimage dès lors que le verrou principal a cédé.

    Pour que le pivot d'attelage se libère complètement du plateau d'arrimage, il a fallu que la remorque se déplace vers l'avant. Ce mouvement vers l'avant peut être dû aux contraintes exercées dans le train pendant le déplacement normal du train et au cheminement attribuable au fait que la remorque chevauchait deux plates-formes séparées. Les essais en laboratoire ont démontré qu'il suffisait d'un mouvement de deux pouces vers l'avant pour que le pivot d'attelage se sépare du plateau d'arrimage. L'accumulation normale de graisse sur le plateau d'arrimage et sur la plaque d'acier entourant le pivot d'attelage de la remorque a dû faciliter encore davantage le déplacement désordonné vers l'avant ou les côtés.

    Les caractéristiques de roulement de l'Élément ont dû être altérées par le fait que des amortisseurs rotatifs étaient absents ou débranchés (environ 30 p. 100). Dans certains cas, des amortisseurs ne fonctionnaient que d'un côté d'une plate-forme. Le bout de la plate-forme AP où se trouvait le chevalet d'arrimage et où la remorque était fixée, et la plate-forme placée immédiatement devant, étaient tous deux dépourvus de mécanisme d'amortissement fonctionnel d'un côté ou de l'autre (gauche ou droite). Les mécanismes d'amortissement inopérants, combinés aux efforts latéraux accrus occasionnés par le dévers excessif des courbes de la subdivision Winchester, ont dû aussi contribuer à la propension de la remorque non arrimée à se soulever ou à se déplacer latéralement, ou les deux.

    Dès que le train a atteint la limite de gabarit imposée par les appuis du pont du point milliaire 102,9, la remorque a heurté la structure d'appui du pont et, le train poursuivant sa route, la remorque a été repoussée vers l'arrière jusqu'à ce qu'elle heurte le portique de levage du wagon adaptateur suivant. La résistance du portique de levage a dû faire céder la poutre d'appui du pont et causer des dommages considérables à la remorque.

    2.2 Conception du chevalet d'arrimage et essais

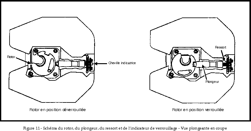
    La conception du mécanisme de verrouillage du chevalet d'arrimage a joué un rôle primordial dans cet accident. La Figure 11 montre les principales pièces du mécanisme de verrouillage à l'intérieur de la plaque d'arrimage.

    L'examen des pièces démontées après l'accident a révélé que, quand une cheville indicatrice de verrouillage du rotor est courbée, elle gêne le mouvement du ressort de verrouillage du plongeur, ce qui fait que le plongeur de verrouillage du rotor « flotte » à l'intérieur de son guide. De plus, le bout du plongeur de verrouillage du rotor est incliné de telle façon qu'il permet au rotor de se déverrouiller de lui-même si le plongeur n'est pas engagé à fond, plutôt que d' empêcher le déverrouillage. Étant donné l'ajustage entre le plongeur de verrouillage, le rotor et la plaque d'arrimage, leurs limites permises, et l'usure normale sur ces mêmes pièces, il est possible que le rotor se déverrouille de lui-même si l'engagement du plongeur de verrouillage est de moins de 1/2 pouce.

    D'après le rapport du Laboratoire technique du BST no LP 150/97, la courbure de la cheville indicatrice était due à la cause suivante : par suite d'une extension excessive pendant l'abaissement, la cheville indicatrice de verrouillage s'est tordue après être entrée en contact avec les membrures du plancher d'une remorque. D'après les employés, il n'est pas rare que des chevilles restent coincées sur le sous-plancher; d'ailleurs, le nombre de chevilles courbées que les enquêteurs du BST ont examinées ou dont il est question dans les dossiers d'inspection et de réparation porte à croire que les problèmes de ce genre ne sont pas rares. Pendant le déchargement, il est possible qu'un préposé à la mise en place ne sache pas qu'une cheville indicatrice est entrée en contact avec un sous-plancher, à moins que le plateau d'arrimage ne reste bloqué sous la remorque. Comme les inspections de sécurité ultérieures de l'Élément ont lieu lorsque le train est déchargé et que les chevalets d'arrimage sont abaissés, la cheville indicatrice de verrouillage est cachée par la géométrie du plateau d'arrimage et le bâti de la plate-forme (voir la Figure 12). Comme on n'a pas réparé la cheville endommagée, les conditions étaient réunies pour que l'accident se produise.

    Lors de la conception initiale et des essais du chevalet, on n'a pas simulé les conditions véritables de chargement et de déchargement à cause des raisons suivantes :

    • on a utilisé un chevalet d'arrimage muni de deux amortisseurs pneumatiques plutôt que d'un amortisseur hydraulique;
    • le chevalet utilisé pour les essais était boulonné au plancher, plutôt que fixé à une plate-forme véritable;
    • on n'a pas utilisé de remorque avec le camion-navette au cours de l'essai de 7 000 cycles.

    Il s'ensuit donc qu'on n'a pas identifié les domaines possibles d'incompatibilité entre les conceptions des pièces (par exemple l'extension excessive des chevilles indicatrices de verrouillage pendant l'abaissement accéléré).

    Le Iron Highway était muni de chevalets d'arrimage ferroviaire non approuvés par l'AAR, mais on peut tout de même remettre en question la norme de l'AAR (AAR M-928-87). Un grand nombre de remorques routières ont un poids total brut de 70 000 livres, ce qui est plus élevé que le poids total maximal autorisé de 65 000 livres stipulé dans la norme.

    2.3 Connaissances des opérateurs et inspection

    On a cherché à savoir la raison pour laquelle une remorque mal arrimée pouvait passer inaperçue lors d'une inspection menée par du personnel bien formé.

    En général, les tâches d'inspection se séparent en deux étapes : premièrement, on inspecte un article en faisant appel à ses sens (la vue, l'ouïe, le toucher et l'odorat), après quoi on prend une décision à savoir si cet article répond aux spécifications. Dans leur processus d'inspection initiale, les employés de la Rail Term se fient beaucoup au « déclic » qu'on entend au moment où le plongeur s'engage dans le rotor. Toutefois, les essais ont démontré que plusieurs bruits se font entendre au moment où le pivot d'attelage s'engage dans le chevalet d'arrimage. Si la cheville indicatrice est courbée, le plongeur ne s'engagera pas en faisant un déclic, mais les autres bruits se feront entendre. Donc, le « déclic » sonore garantit seulement que le rotor est en place, et ne signifie pas que le mécanisme de verrouillage complet est bien en place.

    La suite de l'inspection du mécanisme de verrouillage du chevalet fait appel au sens de la vue. Même si les chevilles indicatrices de couleur peuvent aider l'opérateur à reconnaître l'emplacement général de la cheville, la couleur devient moins importante lorsqu'il s'agit de déterminer si la cheville est engagée de façon convenable, étant donné que la couleur est visible, peu importe que la cheville soit verrouillée ou déverrouillée (la seule différence étant la quantité de couleur qu'on voit, et d'ailleurs cette quantité varie selon les différents modèles de chevalets d'arrimage). De plus, on a utilisé des couleurs différentes (vert et jaune) et la peinture était souvent écaillée, cachée par de la saleté et de l'huile, ou encore altérée par la chaleur, dans les cas des chevilles tordues qu'on a redressées en les chauffant au chalumeau oxyacétylénique.

    La cheville en position déverrouillée s'éloigne de la plaque d'environ 20 mm (3/4 de pouce). Bien que cette distance puisse être acceptable lorsque les conditions d'observation sont optimales, plusieurs facteurs (par exemple un mauvais éclairage, la distance de l'observateur par rapport à la cheville, la neige et la glace en hiver, la similitude de forme de la cheville et des têtes de boulons adjacentes) peuvent empêcher l'observateur de faire la distinction voulue. De plus, quand la cheville est en position verrouillée, la distance entre le bout de la cheville et la plaque de protection peut varier jusqu'à un certain point. Même une saillie de seulement 2 mm, comme on en a observé dans certaines fiches d'inspection du CFCP, représente au moins 10 p. 100 de la longueur d'une cheville indicatrice en position déverrouillée. Sans une mesure précise des valeurs acceptables et non acceptables de longueur en saillie, la prise de décisions au moment de l'inspection laisse beaucoup de place à la subjectivité. En raison de la petite taille de la cheville indicatrice, de son emplacement et de son apparence, l'inspecteur qui procède à une inspection finale au niveau du sol peut prendre un chevalet d'arrimage non verrouillé pour un chevalet verrouillé dont la cheville indicatrice fait saillie légèrement.

    Les inspections menées par les employés de la Rail Term, qui chargent le train, sont critiques aux fins de l'acheminement des remorques en toute sécurité. Les inspections au défilé confiées aux inspecteurs de wagons du CFCP visent à déceler des problèmes plus généraux dans une partie du train; par conséquent, ces inspections ne peuvent pas s'intéresser uniquement aux mécanismes de verrouillage. De même, comme l'Élément est en mouvement et que la moitié des chevalets d'arrimage de remorques sont orientés en direction contraire au sens de mouvement du train, il est plus difficile de déceler des petites différences qui existent entre les positions des chevilles indicatrices de verrouillage pendant les inspections au défilé.

    Le fait que des chevilles indicatrices soient fréquemment sales, le nombre de chevilles courbées et le fait que des employés voient à l'occasion des chevilles légèrement en saillie, suggèrent un manque général de sensibilisation quant à l'importance de la cheville indicatrice dans le bon fonctionnement du plongeur de verrouillage. Dans le guide de formation des opérateurs du Iron Highway et le manuel de l'opérateur du Iron Highway, les renseignements à l'intention des employés d'inspection et d'entretien du matériel roulant du Iron Highway ont fait ressortir les lacunes suivantes concernant les inspections des verrous d'arrimage :

    • il n'y avait pas de photographies ou de descriptions appropriées précisant les critères qui président à l'inspection--ce qui pourrait occasionner un relâchement des normes avec le temps;
    • il y avait peu d'information de nature technique sur la conception et le fonctionnement du verrou--ce qui empêchait les employés de bien comprendre le fonctionnement des pièces internes du mécanisme de verrouillage et, par conséquent, pourrait influer sur les décisions qu'ils prennent (par exemple le fait de ne pas reconnaître l'importance d'une cheville indicatrice de verrouillage qui fait saillie);
    • dans les manuels, rédigés en anglais, la terminologie manquait d'uniformité d'un manuel à l'autre (par exemple, un manuel employait le terme « jam » (coinceur ou rotor), alors qu'un autre employait « rotor », et on a employé le terme « flag » (drapeau) plutôt que « indicator pin » (cheville indicatrice)). Tous les employés doivent bien comprendre l'utilité de ces pièces, étant donné qu'elles sont essentielles au fonctionnement sûr des mécanismes de verrouillage; dans ce contexte, il serait souhaitable que la terminologie soit uniforme.

    Du matériel didactique de meilleure qualité et une meilleure compréhension du fonctionnement des pièces internes des verrous d'arrimage devraient permettre une amélioration de la qualité des inspections.

    2.4 Rétroaction et communication

    Ni les employés de la Rail Term ni ceux du CFCP ne savaient précisément à quel groupe il incombait d'inspecter et d'entretenir les chevalets d'arrimage. Certains employés ont dit que cette situation découlait de la période de transition qui a fait suite à la décision de juillet 1997, par laquelle les inspecteurs de wagons du CFCP ont été autorisés à s'occuper de certains aspects de l'inspection et de l'entretien. On peut dire que les employés des deux compagnies avaient des relations de travail agréables. Tous les intéressés semblaient être motivés et semblaient être voués au succès du projet.

    Étant donné la distribution des responsabilités entre la Rail Term et le CFCP, une procédure officielle de transmission et d'accusé de réception des communications devrait permettre d'accroître la responsabilisation des deux parties. L'absence d'une telle procédure relative aux travaux de réparation ou d'entretien qu'on entendait faire ou qu'on a effectués n'a fait que rendre encore plus floues les attributions de chaque groupe. La situation s'est quelque peu compliquée du fait que certains employés ne connaissaient pas bien les désignations techniques de certaines pièces de l'Élément. Il s'ensuit qu'on utilisait des termes non uniformisés, ce qui a causé une certaine ambiguïté dans les communications écrites et verbales entre les employés du CFCP et ceux de la Rail Term.

    Comme certains inspecteurs de wagons du CFCP ne connaissaient pas les pièces de l'Élément qui étaient critiques aux fins de la sécurité, ils ne savaient s'il fallait ou non « arrêter » un train pour cause de non-fonctionnement d'une pièce en particulier. Quoi qu'il en soit, les décisions finales en matière de sécurité incombaient aux surveillants de la Rail Term, ce qui revenait presque à nier la pertinence et l'importance de la procédure d'inspection de sécurité. En outre, l'absence de critères bien définis permettant de savoir si un train pouvait partir en toute sécurité constituait une menace constante pour la sécurité du train. Il semble aussi, compte tenu du nombre de problèmes relevés lors des inspections de remorques, que certaines des constatations du rapport de la FRA sur l'exploitation des remorques ou conteneurs sur wagon plat valent aussi pour celle du Iron Highway.

    3.0 Faits établis

    • On considère que l'exploitation du train n'est pas en cause dans cet accident.
    • Étant donné leur manque d'expérience relativement à la conception unique du Iron Highway, la gestion et les employés du CFCP et de la Rail Term n'avaient pas de connaissances exhaustives sur toutes les composantes critiques aux fins de la sécurité.
    • Les chevalets d'arrimage n'ont pas de mécanisme de verrouillage auxiliaire.
    • L'angle du plongeur du verrou de rotor facilite le déverrouillage alors qu'il serait censé empêcher un tel déverrouillage.
    • Pendant le cycle de dégagement, la cheville indicatrice de verrouillage peut aller au-delà de la zone de protection assurée par la pièce coulée du plateau d'arrimage et entrer en contact avec les sous-châssis de plancher de certaines remorques.
    • Par suite du contact entre les chevilles indicatrices et les sous-châssis de plancher de remorques, les chevilles ont subi des dommages dont les employés n'ont pas vu d'emblée la gravité.
    • La cheville indicatrice de verrouillage du chevalet d'arrimage de la plate-forme AP était courbée avant qu'on charge la remorque no CTC 36502.
    • Certains employés de la Rail Term et du CFCP ont jugé que des chevilles faisant saillie légèrement indiquaient la position verrouillée.
    • Lors de l'inspection des chevalets d'arrimage au moment du chargement, des inspections à l'arrêt et des inspections au défilé, les employés n'ont pas été en mesure de constater que le chevalet d'arrimage de la plate-forme AP était déverrouillé.
    • La cheville indicatrice de verrouillage n'est pas toujours visible, étant donné sa taille, son emplacement, sa propreté plus ou moins grande et le fait que sa forme soit similaire à celle des têtes de boulons adjacentes.
    • La norme applicable de l'AAR pour tous les chevalets d'arrimage ferroviaire (AAR M-928-87) vise les chevalets d'arrimage des remorques routières ayant un poids total maximal autorisé de 65 000 livres. Ce poids est inférieur au poids total maximal de nombreuses remorques.

    3.1 Causes

    La remorque s'est désarrimée à cause d'un chevalet d'arrimage mal verrouillé qui n'avait pas été détecté lors des inspections avant départ parce qu'en l'absence des renseignements nécessaires, les employés ne pouvaient savoir qu'une cheville indicatrice de verrouillage pouvait rendre le mécanisme de verrouillage inopérant si elle faisait saillie légèrement ou si elle était endommagée.

    La conception-même du mécanisme de verrouillage du chevalet d'arrimage et le manque d'expérience de la gestion et des employés dans l'emploi de la nouvelle technologie ont contribué à l'accident.

    4.0 Mesures de sécurité

    4.1 Mesures prises

    4.1.1 Compagnie ferroviaire

    À la suite de cet événement, la sensibilisation accrue à l'égard de l'état mécanique de ce matériel relativement nouveau a donné lieu à plusieurs améliorations visant la sécurité et l'entretien des Éléments :

    1. tous les chevalets d'arrimage et les amortisseurs défectueux ont été réparés ou remplacés;
    2. les amortisseurs rotatifs manquants ou défectueux ont été remplacés, et un programme régulier de remplacement des pièces a été mis sur pied;
    3. les capteurs éélectroniques de freinage ont été remplacés par un indicateur de freinage mécanique, moins susceptible d'être endommagé ou de tomber en panne;
    4. les fils tressés de connexion et les sabots ont été remplacés par des dispositifs de manoeuvre à barre rigide;
    5. les chevilles indicatrices ont été repeintes en jaune sur fond noir pour faire contraste et pour les rendre plus visibles;
    6. on doit maintenant faire une inspection périodique et graisser les chevalets d'arrimage tous les six mois;
    7. les inspections suivantes doivent maintenant être effectuées : une inspection des arrimages au niveau du sol par un membre de l'équipe de chargement de la Rail Term, une deuxième inspection des arrimages par un autre employé de la Rail Term ou par un surveillant, et une inspection des arrimages avant le départ par des inspecteurs de wagons du CFCP avant l'inspection au défilé finale des convois en partance;
    8. les employés du Iron Highway ont reçu de Trinity Industries des cours de formation sur le fonctionnement, l'inspection, le graissage et la remise à neuf des chevalets d'arrimage LP-9;
    9. Educom Technologies a complètement révisé les manuels de procédures de chargement et de déchargement;
    10. tous les employés ont suivi un cours de recyclage sur ces nouvelles procédures et le rendement des employés a été évalué;
    11. les instructions d'exploitation exigent maintenant que la sellette d'attelage d'un camion-navette soit relevée de 2 pouces de plus pour éviter que le plateau d'arrimage n'entre en contact avec la remorque quand on abaisse le chevalet d'arrimage;
    12. le camion-navette ne doit pas dépasser une vitesse de 1 mi/h quand il recule sous une remorque pour la décharger;
    13. il faut descendre les béquilles des remorques avant de les décharger;
    14. le CFCP partage toutes les mesures qui ont été prises, soit les nouvelles procédures, la formation, les normes et les manuels, avec l'industrie.

    4.1.2 Transports Canada

    Dorénavant, les inspecteurs de Transports Canada surveilleront étroitement la façon dont l'inspection des mécanismes de verrouillage est effectuée. Transports Canada ajoutera également les mesures de sécurité relevées à l'annexe B et les questions connexes à sa liste actuelle de sujets de discussions avec l'Association des chemins de fer du Canada et la Federal Railroad Administration.

    4.1.3 Association of American Railroads

    Le comité de gestion de la sécurité et des opérations de l' Association of American Railroads (AAR) a approuvé des nouvelles procédures d'exploitation normalisées pour l'arrimage des remorques intermodales qui sont entrées en vigueur le 1er août 1998. Les nouvelles procédures exigent que l'arrimage soit vérifié au cours des inspections d'après chargement et d'avant départ et que le personnel de chargement soit assujetti à de nouveaux critères de certification et soumis à de nouveaux essais de qualification. La section 3 des procédures d'exploitation normalisées intitulé « Definitions for Purposes of this Document » décrit les « défaillances d'arrimage » comme l'état ou un problème de matériel qui empêche qu'une remorque ou un conteneur soit bien arrimé sur un wagon intermodal, ou qui risque de compromettre un bon arrimage.

    Selon les critères d'inspection des plateaux supérieurs des chevalets d'arrimage de remorque, le fait qu'ils ne soient pas munis d'un mécanisme auxiliaire de verrouillage est l'une des défaillances à être identifiée lors des inspections.

    4.2 Mesures à prendre

    Le Bureau reconnaît les mesures prises et les améliorations apportées par l'industrie et Transports Canada à la suite de cet événement et croit que ces mesures amélioreront la sécurité d'exploitation du Iron Highway. Parmi ces mesures, on compte la formation du personnel et l'amélioration des procédures et des inspections. Il n'en reste pas moins que les deux têtes de boulons adjacentes et les deux nervures de renfort du plateau d'arrimage dissimulent quelque peu la partie visible des chevilles indicatrices de verrouillage, qui n'est en fait qu'une petite protubérance, et font en sorte que les chevalets d'arrimage mal verrouillés sont difficiles à détecter lors des inspections.

    Le Iron Highway est un prototype qui a dû être exempté de certaines exigences réglementaires de Transports Canada pour qu'il puisse être exploité au Canada. Le Iron Highway ne répond pas à toutes les exigences des règles de l'AAR sur le transport intermodal. D'autres types de chevalets d'arrimage (par exemple, le chevalet LP-3 approuvé par l'AAR) sont munis de mécanismes de verrouillage semblables, mais la plupart de ces chevalets sont aussi dotés d'un mécanisme secondaire de verrouillage. Selon les procédures d'exploitation normalisées pour l'arrimage des remorques intermodales définies par l'AAR, acceptées par l'industrie ferroviaire et entrées en vigueur depuis le 1er août 1998, les chevalets qui ne sont pas dotés d'un mécanisme secondaire de verrouillage sont considérés comme défectueux.

    Le chevalet d'arrimage automatique est conçu pour se déverrouiller de lui-même par le mouvement du plongeur, du ressort et de la cheville indicatrice de verrouillage. Le mécanisme de déverrouillage automatique peut être actionné accidentellement si le plongeur n'est pas entièrement engagé, si le ressort est brisé ou si la cheville est courbée. Nonobstant les améliorations apportées pour réduire les risques associés à ce genre de matériel, il se peut que ces manquements ne soient pas détectés durant les processus d'inspection. Le risque qu'une remorque routière se détache en route, par l'actionnement accidentel du mécanisme de déverrouillage automatique, n'est donc pas éliminé. Étant donné les vitesses de déplacement élevées du Iron Highway et le poids possible du matériel, un bon arrimage des remorques routières est essentiel à la sécurité d'exploitation. Par conséquent, le Bureau recommande que :

    Le ministère des Transports évalue le système d'arrimage des remorques du Iron Highway et les inspections de sécurité connexes afin de s'assurer que les risques liés à l'arrimage des remorques routières soient bien évalués.
    Recommandation R98-02 du BST

    Le présent rapport met fin à l'enquête du Bureau de la sécurité des transports sur cet accident. La publication de ce rapport a été autorisée le par le Bureau qui est composé du Président Benoît Bouchard et des membres Maurice Harquail, Charles Simpson et W.A. Tadros.

    5.0 Annexes

    Annexe A - Voiture TEST - 7 août 1997

    Ce tableau présente les détails relatifs aux courbes de la voie entre le point milliaire 22,0 et le lieu de l'accident.

    Rapport d'évaluation de la voie - courbes de la subdivision Winchester
    Début au point milliaire Courbe moyenne
    (°)
    Longueur
    (pieds)
    Dévers moyen
    (pouces)
    Dévers maximum
    (pouces)
    Vitesse
    de conception
    (mi/h)
    Vitesse de conception minimale
    (mi/h)
    Vitesse limite affichée
    (mi/h)
    22,0 0o 29′ 3 453 2 3/8 3 114 77 60
    43,2 0o 28′ 545 2 3/4 3 3/4 120 73 60
    50,3 0o 29′ 2 119 2 1/4 2 7/8 112 71 60
    52,3 0o 29′ 3 581 2 7/8 4 1/4 119 75 60
    64,2 0o 23′ 865 2 5/8 3 130 93 60
    73,1 0o 27′ 2 598 2 3/4 3 1/2 122 88 60
    77,5 0o 30′ 3 801 2 7/8 3 3/4 117 71 60
    84,9 0o 28′ 2 136 1 3/8 2 1/8 101 70 60
    96,2 0o 27′ 1 879 1 7/8 2 1/4 109 81 60
    97,4 1o 2′ 843 2 1/2 2 3/4 78 67 60
    98,7 1o 29′ 3 671 3 3/8 4 1/8 72 60 60
    100,0 2o 10′ 1 415 3 7/8 4 5/8 64 61 60
    101,4 0o56′ 1 993 2 2 1/2 77 59 60
    102,8 0o 26′ 1 320 3 1/4 4 1/8 127 91 60

    Annexe B - Chargement des wagons et arrimage - remorques ou conteneurs sur wagon plat

    En 1994, la Federal Railroad Administration (FRA) des États-Unis a rédigé un rapport intitulé Trailer-on-Flat Car and Container-on-Flat Car Loading and Securement Safety (Sécurité dans le chargement et l'arrimage de remorques et de conteneurs sur wagon plat). En réponse aux lacunes relevées dans la sécurité des opérations de chargement des remorques ou conteneurs sur wagon plat, la FRA a proposé que la FRA et l'industrie fassent conjointement la promotion des mesures de sécurité suivantes :

    1. exiger que le matériel affecté aux opérations de remorques ou conteneurs sur wagon plat fasse l'objet, après le chargement et avant le départ, d'inspections menées par du personnel autre que les équipes de chargement, par exemple des surveillants des équipes de chargement ou des wagonniers;
    2. établir un ensemble uniforme de normes minimales de formation aux fins de l'obtention de la qualification des équipes de chargement affectées aux remorques ou conteneurs sur wagon plat, et ce dans toute l'industrie;
    3. établir les intervalles nécessaires d'entretien préventif des systèmes d'arrimage des remorques ou conteneurs sur wagon plat, notamment le nettoyage et le graissage des pièces mobiles critiques;
    4. élaborer des instructions permanentes écrites destinées à assurer la sécurité du chargement des remorques ou conteneurs sur wagon plat à chaque lieu de chargement;
    5. faire cesser la pratique consistant à abaisser les chevalets d'arrimage défectueux sur le plancher du wagon plat et à charger le wagon de conteneurs sans avoir prévu au préalable un moyen sûr d'empêcher qu'on utilise de nouveau le chevalet d'arrimage défectueux après le déchargement des conteneurs;
    6. réviser les normes de conception des remorques et des conteneurs qui doivent être chargés sur du matériel roulant affecté au service de remorques ou conteneurs sur wagon plat, pour s'assurer qu'ils sont compatibles avec les différents modes de levage tout en conservant une capacité de charge maximale;
    7. surveiller le travail des entrepreneurs responsables des opérations de chargement des remorques ou conteneurs sur wagon plat pour s'assurer qu'ils se conforment bien aux règles de sécurité établies.

    À la suite des constatations de la FRA, la Fraternité des wagonniers de chemins de fer du Canada a mené une enquête relative aux lieux de chargement, dont voici quelques-unes des constatations :