Rapport d'enquête maritime M09C0029

Explosion
du pétrolier AlgoCanada
près de Prince Edward Point
à l'est du lac Ontario (Ontario)

Le Bureau de la sécurité des transports du Canada (BST) a enquêté sur cet événement dans le but de promouvoir la sécurité des transports. Le Bureau n’est pas habilité à attribuer ni à déterminer les responsabilités civiles ou pénales. Le présent rapport n’est pas créé pour être utilisé dans le contexte d’une procédure judiciaire, disciplinaire ou autre. Voir Propriété et utilisation du contenu. Les pronoms et les titres de poste masculins peuvent être utilisés pour désigner tous les genres afin de respecter la Loi sur le Bureau canadien d’enquête sur les accidents de transport et de la sécurité des transports (L.C. 1989, ch. 3).

Table des matières

    Résumé

    Le 24 juillet 2009, le pétrolier AlgoCanada se dirige vers l'ouest, dans la partie est du lac Ontario, quand survient une explosion dans le compartiment du propulseur d'étrave. Ce dernier ainsi que le gaillard subissent des dommages mineurs. Il n'y a ni blessures, ni dommages à l'environnement et le navire poursuit son voyage.

    This report is also available in English.

    Renseignements de base

    Fiche technique du navire

    Nom du navire AlgoCanada
    Numéro OMI 9378591
    Port d'immatriculation St. Catharines (Ontario)
    Pavillon Canada
    Type Navire-citerne de produits chimiques et pétroliers
    Jauge brute 8009
    Longueur hors toutNote de bas de page 1 129,84 m
    Tirant d'eau Avant : 7,59 m Arrière : 7,59 m
    Construction Turquie, 2008
    Propulsion MAK 9M32C / 4 500 kW
    Hélice unique à pas réglable
    Cargaison Navire sur ballast
    Équipage 14
    Propriétaire enregistré Algoma Tankers Ltd., St. Catharines (Ontario)
    Gestionnaire du navire Algoma Tankers Ltd., St. Catharines (Ontario)

    Description du navire

    L'AlgoCanada a été construit en 2008 et est un navire-frère de l'AlgoNova. Ils ont tous deux été construits à Eregli, en Turquie, et sont exploités par Algoma Tankers Ltd. Le navire comporte une double coque et a été construit en fonction du sondage de classe du Bureau Veritas (BV), selon lequel il constitue un navire-citerne (pour produits chimiques et pétroliers mixtes) répondant à la norme II pour les produits chimiques et à la norme 1A pour la glace. Le navire comporte 14 citernes et 2 citernes à résidus. Le rouf et le pont se trouvent à l'arrière et le navire comporte un propulseur d'étrave. Des canalisations pour l'acheminement des cargaisons, pour l'acheminement des gaz inertes et pour l'assèchement des citernes se trouvent dans un tambour fermé, situé sur le pont principal.

    Photo 1. AlgoCanada
    Image
    AlgoCanada

    L'entrée dans le gaillard se fait par une porte et un escalier se trouvant à l'avant de ce dernier, endroit à partir duquel il est possible d'accéder au compartiment du propulseur d'étrave situé en dessous. Ce compartiment comporte une unité de chauffage à commande thermostatique, des lampes électriques et un ventilateur. Aucun de ces éléments n'est antidéflagrant, et la réglementation ne l'exige pas.

    Le navire a été initialement pourvu d'un système approuvé d'assèchement des citernes,Note de bas de page 2 ainsi que de ventilateurs portatifs entraînés par l'eau. Le système d'assèchement des citernes comprend une unité de ventilation située dans le gaillard, à côté de la cloison arrière. Cette unité de ventilation a été raccordée aux canalisations, qui pénètrent dans la cloison et ont été elles-mêmes reliées à un double clapet de non-retour situé dans le tambour sur le pont (voir la figure 1).Note de bas de page 3

    Figure 1. Disposition de l'unité d'assèchement des citernes et du gaillard 1. Puits d'accès du propulseur d'étrave 2. Unité d'assèchement des citernes 3. Double clapet de non-retour 4. Armoire à peinture 5. Escalier menant au gaillard
    Image
    Disposition de l'unité d'assèchement des citernes et du gaillard

    Le navire est pourvu d'un dispositif fixe par gaz inerte (GI) pour les citernes. Le dispositif GI se trouvant à bord de l'AlgoCanada, bien qu'il ait été fonctionnel, n'était pas utilisé. L'objet d'un tel système est d'empêcher la formation d'une atmosphère inflammable dans les citernes en introduisant un gaz inerte ou un mélange de gaz ne contenant pas suffisamment d'oxygène pour favoriser la combustion.

    La Convention internationale de 1973 pour la prévention de la pollution par les navires, modifiée par le Protocole de 1978 s'y rapportant (MARPOL), Note de bas de page 4 Annexe II, Chapitre II, requiert que chaque navire certifié pour le transport de substances liquides dangereuses en vrac soit doté d'un manuel des méthodes et dispositifs de rejet. Ce dernier traite des aspects environnementaux liés à la manutention de cargaisons, au nettoyage des citernes et à la décharge de résidus et de mélanges issus de ces opérations, dans le cadre d'activités maritimes. Il n'est pas destiné à servir de guide de sécurité, et il n'évalue pas non plus de manière particulière les problèmes de sécurité.

    Au moment du transfert du navire par le constructeur, en plus du transfert de la certification et de la documentation standard, le constructeur a fourni un manuel des méthodes et dispositifs de rejet à Algoma Tankers. Ce manuel, qui avait été approuvé par la société de classification (Bureau Veritas), n'a pu être trouvé à bord au moment de l'enquête. Note de bas de page 5 Toutefois, le manuel du navire-frère similairement équipé, l'AlgoNova, déclare de manière explicite que la ventilation des citernes doit se faire au moyen de ventilateurs portatifs entraînés par l'eau.

    Déroulement du voyage

    Le 21 juillet 2009, après avoir déchargé une cargaison d'essence et de mazout à Sydney, en Nouvelle-Écosse, l'AlgoCanada s'est rendu sur lest au port suivantde chargement à Nanticoke, en Ontario. Les citernes ont été laissées dans un état « trop riche ».Note de bas de page 6

    Le matin du 24 juillet 2009, le capitaine, un pilote, le timonier et le premier lieutenant se trouvaient sur le pont. Vers 7 h,Note de bas de page 7 le capitaine en second discutait du travail de la journée avec 2 membres d'équipage polyvalents. Ce travail comprenait la ventilation des citernes, en commençant par les citernes no 1 (bâbord et tribord), qui avaient contenu de l'essence. Le capitaine en second a indiqué que la ventilation devait être effectuée après le transfert de pilote suivant à Tibbetts Point, dans l'État de New York. Comme il n'y avait pas de procédures écrites à bord au sujet de la ventilation, les membres d'équipage polyvalents ne disposaient que des instructions verbales du capitaine en second pour comprendre comment exécuter leur tâche. Les 2 membres d'équipage polyvalents comptaient de l'expérience antérieure dans l'exécution de ces opérations de ventilation, qu'ils avaient menées sous supervision et sans incident.

    À 8 h 30, alors qu'ils effectuaient les préparatifs en vue des opérations de ventilation, les membres d'équipage polyvalents ont disposé des tuyaux souples à côté des écoutilles de nettoyage des citernes no 1, à bâbord et à tribord, et ont ouvert manuellement les soupapes pression-dépression des citernes.

    À environ 9 h 30, les membres d'équipage polyvalents ont enlevé les couvercles des brides des tuyaux utilisés pour l'assèchement des citernes et ont raccordé une extrémité des tuyaux souples à ces tuyaux (voir la photo 2). À 9 h 44, on fait passer l'autre extrémité des tuyaux souples par les écoutilles de nettoyage des citernes près du fond des citernes no 1, à bâbord et à tribord. Les membres d'équipage polyvalents se sont ensuite dirigés vers l'arrière pour aider au transfert du pilote.

    Photo 2. Tuyau souple vers le système d'assèchement des citernes
    Image
    Tuyau souple vers le système d'assèchement des citernes

    À 9 h 45, le navire est arrivé au poste des pilotes à Tibbet's Point dans le fleuve Saint-Laurent. À 10 h 10, à la suite du changement de pilotes, un membre d'équipage polyvalent a informé le capitaine en second que les tuyaux souples avaient été insérés dans les citernes no 1, à bâbord et à tribord, et qu'ils étaient maintenant prêts pour la ventilation. Comme le ventilateur d'assèchement des citernes ne fonctionnait pas encore et comme le capitaine en second avait été témoin, auparavant, d'une situation dans laquelle de la vapeur s'était introduite dans le gaillard en passant par de tels tuyaux souples, le capitaine en second s'est avancé et a retiré les tuyaux souples des citernes et a fermé les écoutilles de nettoyage des citernes. Il s'est alors rendu au gaillard, mais avant d'arriver à la porte, il a senti des vapeurs d'essence. Il a laissé la porte ouverte pour aérer la zone du gaillard, mais n'a pas démarré le ventilateur du propulseur d'étrave au cas où cela causerait une étincelle.

    À 10 h 30, le capitaine en second a informé les membres de l'équipage sur le pont de l'atmosphère présente dans le gaillard et a donné comme instruction à la vigie suivante de se tenir à l'écart. Le gaillard a été ventilé de façon naturelle pendant 1 heure et 40 minutes par la suite.

    À 12 h 20, le capitaine en second est retourné au gaillard pour vérifier l'atmosphère à l'aide d'un détecteur de gaz. La valeur donnée par l'appareil était de 0 LEL. Note de bas de page 8 Il s'est ensuite rendu à l'espace du tambour pour vérifier le réglage des robinets des autres citernes.

    À 12 h 32, une explosion est survenue dans le gaillard. Depuis le pont, le capitaine et le pilote ont assisté à la projection de débris par la porte du gaillard, suivis par une fumée gris foncé. Au même moment, les tuyaux souples se sont séparés du système d'assèchement des citernes, qui a commencé à produire de la fumée. L'alarme d'incendie s'est fait entendre automatiquement et l'alarme générale a retenti depuis le pont peu de temps après.

    À ce moment, le navire se trouvait à environ 4 milles marins de Prince Edward Point dans la partie est du lac Ontario.

    L'équipage s'est immédiatement dirigé vers les points de rassemblement et une équipe d'incendie formée de 2 membres d'équipage s'est préparée avant de se rendre à l'extérieur du gaillard, près de la porte. Une fois à l'intérieur, ils n'ont signalé aucun incendie visible. Ils ont vérifié les compartiments adjacents pour déceler des sources de chaleur; aucune n'a été trouvée.

    Après qu'il ait été déterminé qu'il n'y avait aucun incendie, le capitaine a signalé l'explosion à la compagnie. À 14 h, le capitaine a informé Transports Canada (TC).Note de bas de page 9 La Corporation de Gestion de la Voie Maritime du Saint-Laurent (CGVMSL) a été informée 3,5 heures après l'événement et les Services de communication et de trafic maritime (SCTM), qui, d'ordinaire, alertent les autres organismes concernés, ont été avisés quelque 72 heures plus tard par le BST.

    Le navire s'est rendu à Nanticoke, puis à Sarnia, en Ontario, où il est entré en désarmement.

    Ventilation et assèchement des citernes

    Le navire est équipé d'un système d'assèchement des citernes fixeNote de bas de page 10 qui a été conçu et approuvé pour l'amenée de volumes relativement faibles d'air ambiant aux citernes asséchées à la suite du lavage et de la ventilation. Ce système n'a pas été approuvé pour la ventilation.

    Selon le Manuel des méthodes et dispositifs de rejet de l'AlgoNova, la ventilation des citernes doit se faire au moyen de ventilateurs portatifs entraînés par l'eau placés aux écoutilles de nettoyage des citernes (voir la figure 2). La pratique consistant à utiliser le système d'assèchement des citernes fixe pour la ventilation avait cours à bord d'un autre navire de la compagnie, soit l'AlgoScotia.

    Figure 2. Arrangement de ventilation normal A. Soupape pression-dépression, B. Écoutille, C. Ventilateur portatif entraîné par l'eau, D. Citerne
    Image
    Arrangement de ventilation normal

    Modifications apportées aux clapets

    Selon les règles de la société de classification, 2 dispositifs de non-retour doivent être installés sur un système d'assèchement des citernes, afin d'éviter le retour de vapeurs inflammables ou toxiques à l'espace sécuritaire (dans ce cas-ci, le gaillard).

    Avant ce voyage, l'équipage du navire a apporté une modification au système d'assèchement des citernes afin de réduire le temps de ventilation.Note de bas de page 11 La compagnie était au fait de la modification et avait fourni des instructions pour le retrait de l'une des 2 chicanes afin d'améliorer l'écoulement de l'air du système d'assèchement des citernes (voir la photo 3). Toutefois, ni le fabricant du robinet ni la société de classification n'ont été consultés.

    Photo 3. Double clapet de non-retour avec écoutille supérieure ouverte et les deux chicanes en place
    Image
    Double clapet de non-retour avec écoutille supérieure ouverte et les deux chicanes en place

    Dommages au navire

    Le navire n'a subi aucun dommage structurel. Toutefois, la porte de l'armoire à peinture a été arrachée de ses gonds. Les conduites d'air se rendant au compartiment du propulseur d'étrave et celles allant à l'unité d'assèchement à l'air ont elles aussi été endommagées, tout comme certaines lampes dans la zone du gaillard et toutes les lampes du compartiment du propulseur d'étrave. Ce dernier a été noirci par la suie. En outre, l'appareil de chauffage porte des marques de combustion.

    Température

    Au moment de l'événement, la température était de 21°C et l'humidité relative était de 88 %. Le vent soufflait vers le sud-sud-ouest à 10 nœuds.

    Certification

    Navire

    Le navire avait un équipage et était équipé et certifié conformément aux règlements en vigueur, et a maintenu un Certificat de gestion de sécurité valide,Note de bas de page 12 tel que l'exige le Code international de gestion pour la sécurité de l´exploitation des navires et la prévention de la pollution (Code ISM).

    Personnel

    Le capitaine, les officiers et les membres de l'équipage détenaient des certificats de capacité appropriés pour le voyage prévu et le type de navire sur lequel ils faisaient leur service. Les personnes participant aux opérations de manutention de la cargaison avaient aussi les mentions pétrolier appropriées, à l'exception d'un membre d'équipage polyvalent qui n'avait pas reçu de formation officielle sur le dispositif GI. Les officiers et les membres de l'équipage n'avaient pas eu l'occasion de se familiariser avec le dispositif GI présent sur le navire, n'avaient pas reçu de formation à son égard et ne connaissaient pas son fonctionnement. Cela n'était pas nécessaire dans le système de gestion de la sécurité d'Algoma pour ses pétroliers. Selon le Règlement sur le personnel maritime, chaque membre de l'équipage doit connaître le matériel de bord avant de l'utiliser.Note de bas de page 13

    Événement antérieur

    Le soir du 19 juillet 1997, il y a eu une explosion et un incendie à bord du pétrolier Petrolab pendant que l'équipage lavait les citernes de transport d'hydrocarbures avant de procéder au chargement.Note de bas de page 14 Le propriétaire du navire a perdu la vie, et 3 membres de l'équipage, dont l'un est décédé plus tard à l'hôpital, ont été blessés dans l'explosion. Le BST a déterminé que l'explosion a été causée par une accumulation de vapeurs d'essence dans le cofferdam arrière, l'entrepont et la salle des machines. Le manque de connaissances du propriétaire et de l'équipage en matière de pratiques de travail prudentes sur les pétroliers ainsi que des pratiques de travail dangereuses improvisées ont contribué à l'incident.

    L'Avis de sécurité maritime (ASM) no 02/98 informait TC de plusieurs pratiques de travail non sécuritaires, comme le lavage des citernes à l'aide de matériel inapproprié et le transfert des résidus dans des espaces inappropriés, qui avaient été suivies pendant de nombreuses années par l'équipage du Petrolab. De telles pratiques résultaient du manque de connaissances, de la part des membres de l'équipage, des risques inhérents aux opérations des pétroliers. Ce ne sont pas tous les membres de l'équipage qui détenaient une mention pétrolier, et ceux qui en avaient une n'avaient jamais suivi de cours sur la sécurité des pétroliers. En conséquence, des pratiques de travail non sécuritaires ont été perpétuées et renforcées. Selon l'ASM, TC devait réévaluer ses exigences concernant l'émission et le renouvellement des mentions pétrolier. Le Règlement sur le personnel maritime exige maintenant que les mentions pétrolier soient revalidées tous les 5 ans; de manière plus précise, les membres de l'équipage qui n'ont pas accumulé 1 an de service en mer au cours des 5 années antérieures doivent suivre le cours spécialisé menant à l'obtention de la mention pétrolier.

    Analyse

    Source de vapeurs combustibles et d'inflammation

    Trois éléments doivent être présents pour qu'une explosion survienne : un combustible, de l'oxygène et une source d'inflammation.

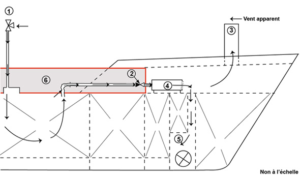
    Dans le cas présent, compte tenu du fait que la porte du gaillard était ouverte, le vent apparent qui soufflait sur l'étrave du navire a créé une zone de basse pression dans le gaillard. Ce facteur ainsi que l'ouverture des soupapes pression-dépression ont fait en sorte que des vapeurs d'essence sont passées de la citerne au gaillard en traversant l'unité d'assèchement et le clapet de non-retour modifié. Après que les vapeurs, plus lourdes que l'air, ont traversé l'unité d'assèchement, elles se sont déposées vers le bas, et se sont déplacées vers le compartiment du propulseur d'étrave (voir la figure 3).

    Ce compartiment contenait une unité de chauffage qui était commandée automatiquement par un thermostat, ainsi que des lampes électriques et un ventilateur; aucun d'entre eux n'était antidéflagrant. Compte tenu de la présence de fumée et de traces de combustion sur l'appareil de chauffage électrique, il est probable que ce dernier soit la source d'inflammation.

    Figure 3. Passage des vapeurs inflammables de la citerne au compartiment du propulseur d'étrave 1. Soupape pression-dépression 2. Double clapet de non-retour 3. Porte du gaillard 4. Unité d'assèchement 5. Compartiment du propulseur d'étrave 6. Tambour
    Image
    Passage des vapeurs inflammables de la citerne au compartiment du propulseur d'étrave

    Modifications apportées au double clapet de non-retour

    La pratique sur l'AlgoCanada consistait à utiliser le système d'assèchement des citernes pour ventiler et dégazer les citernes. Toutefois, il a été déterminé que l'écoulement de l'air de l'unité d'assèchement des citernes ne convenait pas à cette fin. Des modifications au double clapet de non-retour ont été par la suite apportées, de façon à retirer l'un des 2 plateaux de distribution. Cette modification a permis d'améliorer l'écoulement de l'air et de diminuer le temps de ventilation.

    Ni le fabricant du clapet ni la société de classification n'ont été consultés concernant la modification du clapet, ce qui en avait effectivement fait un clapet de non-retour simple. Comme les vapeurs ont ensuite pu se rendre au gaillard et au compartiment du propulseur d'étrave, le plateau de clapet simple qui restait n'était pas efficace sur le plan de l'étanchéité.

    Utilisation de matériel de ventilation inapproprié

    Lorsque l'on effectue la ventilation des citernes sans inertage préalable, il est essentiel qu'un volume suffisant d'air soit présent afin de garantir que l'atmosphère dans la citerne traverse le plus rapidement possible la zone d'inflammabilité. Selon le Manuel des méthodes et dispositifs de rejet de l'AlgoNova, de tels volumes devaient être déplacés au moyen de ventilateurs portatifs entraînés par l'eau au travers des écoutilles de nettoyage des citernes. Toutefois, la pratique courante à bord consistait à utiliser le système d'assèchement des citernes fixe, même si ladite pratique n'avait pas été approuvée ou conçue pour la ventilation. Combinée à la modification du double clapet de non-retour, cette pratique a permis l'introduction de vapeurs explosives dans le compartiment du propulseur d'étrave.

    Utilisation de gaz inerte

    Une méthode efficace pour la réduction du risque d'explosion dans une citerne consiste à réduire la quantité d'oxygène à un niveau ne favorisant pas la combustion. Ce processus peut se faire en remplaçant l'air existant par du gaz inerte, ce qui constitue une pratique exemplaire recommandée pour tous les navires-citernes, peu importe leur tonnage. Par exemple, conformément à l'International Safety Guide for Oil Tankers and Terminals (ISGOTT), durant un passage à ballast, les citernes autres que celles devant être exemptes de gaz doivent demeurer à l'état inerte et sous pression positive pour empêcher l'entrée d'air.

    Dans le cas présent, lorsque l'AlgoCanada a quitté Sydney, en Nouvelle-Écosse, en ballast, l'atmosphère des citernes était dans un état « trop riche ». Même si le navire était doté d'un dispositif GI, ce dernier n'était pas utilisé. En outre, l'équipage ne connaissait pas ce dispositif, et aucune procédure n'était non plus en place pour le maintien des citernes à l'état inerte.

    Une pratique acceptée consiste à purger les citernes des vapeurs d'hydrocarbures qu'elles contiennent au moyen d'un dispositif GI avant la ventilation des citernes. De cette manière, la transition de l'état inerte à l'état exempt de gaz se fait sans passer la zone d'inflammabilité délimitée par les limites d'explosivité supérieure et inférieure.Note de bas de page 15 Si les citernes avaient été inertées durant la décharge et subséquemment purgées avant la ventilation, il n'y aurait pas eu suffisamment de vapeur explosive pour le passage au compartiment du propulseur d'étrave et le risque d'une explosion aurait été grandement réduit.

    En outre, comme le démontre cet événement, les navires qui n'inertent pas les citernes ou ne suivent pas les procédures acceptées pour la purge et la ventilation des citernes s'exposent à un risque accru d'incendie et d'explosion, plus particulièrement durant les opérations de ventilation cruciales.

    Systèmes de gestion de la sécurité

    Selon le Code international de gestion pour la sécurité de l´exploitation des navires et la prévention de la pollution (Code ISM), un objectif essentiel du SGS d'un navire vise à ce qu'une compagnie évalue tous les risques relevés pour les navires, l'équipage et l'environnement, et qu'elle établisse des mesures de protection appropriées.Note de bas de page 16 Cet objectif est atteint au moyen de plans, d'instructions et de procédures écrites à l'égard des principales opérations cruciales et spéciales menées à bord des navires afin de garantir leur exploitation sécuritaire et la protection de l'environnement. En général, plusieurs de ces plans et instructions figurent dans les documents de bord utilisés pour décrire un SGS.

    Le Code ISM traite également des responsabilités de la compagnie concernant les ressources et le personnel, et fait référence à la qualification, aux compétences, à la dotation en personnel, à la familiarisation et, en particulier, à la formation des officiers et de l'équipage.

    Procédures de bord

    Au moment de cet événement, le SGS d'Algoma n'assurait pas la mise en place de mesures de protection, soit des procédures et des pratiques relatives à la ventilation et à l'utilisation d'un dispositif GI, 2 opérations courantes et vitales pour la sécurité à bord des pétroliers. En outre, le système ne faisait pas référence aux directives du Manuel des méthodes et dispositifs de rejet concernant le matériel approprié à utiliser pour la ventilation des citernes, et ne comprenait pas non plus de telles directives. L'équipage s'est donc fié à des instructions verbales non officielles et à sa propre expérience antérieure pour la ventilation des citernes, et les deux se sont avérées insuffisantes.

    En conséquence, sans procédures et formation officielles pour atténuer les risques liés à ces opérations à bord du pétrolier, l'efficacité du SGS du navire a été réduite, ce qui a exposé le navire, l'équipage et l'environnement à des risques plus importants.

    Signalisation rapide

    En ce qui a trait aux navires conduits par un pilote, le capitaine conserve l'entière responsabilité de la sécurité du navire, mais se fie à la connaissance locale du pilote et à sa capacité à manœuvrer le navire de manière sécuritaire et efficiente. Il faut aussi l'informer des exigences en matière de signalisation auxquelles est soumis un navire.

    Selon la réglementation canadienne en vigueur,Note de bas de page 17 il faut signaler un accident dans les meilleurs délais à l'autorité concernée la plus près lorsque le navire se trouve en eaux canadiennes. Cette procédure permet d'activer des ressources ou de les mettre en attente.

    Dans le cas présent, alors que le navire se trouvait dans la voie maritime, le capitaine était tenu de signaler l'explosion à la station de radio ou de circulation de la voie maritime, de la Garde côtière canadienne ou de la Garde côtière américaine la plus proche. Toutefois, le capitaine a signalé l'explosion en premier lieu à la compagnie et a ensuite communiqué avec Transports Canada environ 90 minutes après l'explosion. Trois heures et demie se sont écoulées avant que quelqu'un en cause n'ait informé la CGVMSL. En outre, les SCTM, qui, d'ordinaire, alertent les autres agences concernées, n'ont été informés que 72 heures suivant l'événement et, en plus, par le BST seulement.

    Bien que, dans le cas présent, il n'y ait pas eu perte de vie et que le navire ait été capable de poursuivre sa route jusqu'au port suivant sans dérangement de la circulation, une explosion à bord d'un pétrolier dans une zone si achalandée représente toujours un événement d'importance. Le défaut de signaler l'événement aux autorités concernées peut empêcher des organisations de lancer une intervention opportune et coordonnée en situation d'urgence.

    Faits établis

    Faits établis quant aux causes et aux facteurs contributifs

    1. La pratique inappropriée consistant à utiliser le matériel d'assèchement des citernes pour la ventilation des citernes a permis l'introduction de vapeurs explosives dans le compartiment du propulseur d'étrave.
    2. La modification apportée au double clapet de non-retour a réduit son efficacité et a contribué à l'introduction de vapeurs explosives dans le gaillard et le compartiment du propulseur d'étrave.
    3. Il est probable qu'un radiateur électrique présent dans le compartiment du propulseur d'étrave a fourni la source d'inflammation nécessaire pour l'explosion.
    4. Sans procédures et formation officielles pour atténuer les risques liés aux opérations à bord du pétrolier, l'efficacité du Système de gestion de sécurité (SGS) du navire a été réduite.

    Faits établis quant aux risques

    1. Les navires qui n'inertent pas les citernes ou ne suivent pas les procédures acceptées pour la purge et la ventilation des citernes s'exposent à un risque accru d'incendie et d'explosion, surtout durant les opérations de ventilation cruciales.
    2. Le défaut de signaler un accident aux autorités concernées peut empêcher des organisations de lancer une intervention opportune et coordonnée en situation d'urgence.

    Mesures de sécurité

    Mesures de sécurité prises

    BST

    Le 21 décembre 2009, le BST a émis un Avis de sécurité maritime,Note de bas de page 18 encourageant Algoma Tankers à passer en revue les pratiques et les procédures de dégazage afin de garantir que le matériel et les pratiques appropriés sont utilisés.

    Algoma Tankers

    Après l'événement, les mesures provisoires suivantes ont été prises :

    • Le système d'assèchement des citernes fixe de l'AlgoCanada a été mis à l'arrêt et pourvu d'un dispositif de verrouillage afin qu'il ne soit pas possible de le faire fonctionner. Le capitaine a mis un avis indiquant que le système ne devait pas être utilisé.
    • Des brides pleines dotées de dispositifs de verrouillage ont été posées sur chacune des écoutilles de sortie du système d'assèchement des citernes sur l'AlgoCanada et l'AlgoNova. Ces brides empêchent le raccordement des citernes au système d'assèchement des citernes et au gaillard.
    • Sur l'AlgoCanada et l'AlgoNova, les 2 plateaux de distribution des clapets de non-retour ont été réinstallés.
    • Sur l'AlgoCanada, une bride pleine a été installée sur le système d'assèchement des citernes fixe entre l'unité de ventilation et le système de ventilation.

    En ce qui a trait à la surveillance des gaz, le système fixe prévu à cette fin a été étendu pour inclure le gaillard et le propulseur d'étrave.

    La compagnie a subséquemment mis en œuvre une politique en vertu de laquelle ce type de système d'assèchement des citernes (ventilateurs installés à l'extérieur de la poulie de levage) ne doit pas être utilisé pour la ventilation. Ce système ne servira qu'à l'assèchement des citernes et uniquement après que les compartiments auront été ventilés au moyen de ventilateurs portatifs.

    En ce qui a trait au Manuel de gestion de sécurité (MGS), les modifications suivantes ont été apportées :

    • Le MGS a été modifié le 30 septembre 2009, et les permis et les procédures relatifs à la ventilation des citernes à l'échelle de la flotte ont été mis en œuvre. L'élaboration et la mise en œuvre de ce processus comprenaient un examen des procédures de l'International Safety Guide for Oil Tankers and Terminals (ISGOTT), qui ont été intégrées au MGS. Une présentation du processus de partage des événements et de gestion du changement a également été élaborée et communiquée à la flotte. La section portant sur la manutention de la cargaison a également été révisée pour l'inclusion d'une référence aux conseils offerts dans les Manuels des méthodes et dispositifs de rejet tant pour les opérations de ventilation que pour les opérations de manutention de la cargaison
    • La formation de l'équipage de l'AlgoNova a été effectuée le 26 août 2009, et les autres membres de la flotte ont suivi une formation le 30 septembre 2009.
    • La formation sur le dispositif GI a été donnée à tous les membres du personnel à terre et à un grand nombre des membres de l'équipage.
    • À compter du 14 février 2010, les navires de la flotte pourvus de dispositifs GI fonctionnaient à l'état inerte. Les ingénieurs de maintenance du fabricant du dispositif GI d'origine ont été amenés à bord de tous les navires dotés de dispositifs GI dans la flotte d'Algoma (AlgoNova, AlgoCanada et Algoma Dartmouth) pour inspecter les systèmes et donner de la formation.
    • Chaque navire de la flotte a effectué 2 « suspensions de sécurité » dans la flotte, dont l'objet était de passer en revue l'événement, de faire part des leçons apprises et de renforcer l'utilisation du processus de gestion du changement de la compagnie.
    • Les dispositifs GI et de ventilation de citernes ont été ajoutés à la liste du matériel crucial.
    • Une copie du Manuel des méthodes et dispositifs de rejet de chaque navire a été envoyée à une ressource extérieure pour qu'elle l'examine. Cet examen a maintenant pris fin, et Algoma est en train de rédiger une version préliminaire de tous les Manuels des méthodes et dispositifs de rejet dans un format uniforme. Une fois qu'elles seront terminées, ces versions préliminaires seront passées en revue avant leur soumission à la société de classification, qui les approuvera.

    Le présent rapport met un terme à l'enquête du Bureau de la sécurité des transports sur cet événement. La publication de ce rapport a été autorisée par le Bureau le .

    Annexes

    Annexe A—Croquis des lieux de l'événement

    Annexe A. Croquis des lieux de l'événement
    Image
    Croquis des lieux de l'événement

    Annexe B—Plan d'ensemble du navire

    Annexe B. Plan d'ensemble du navire
    Image
    Plan d'ensemble du navire