Marine Investigation Report M03L0124

Downflooding and grounding
Fishing vessel Evan Richard
off Anticosti Island, Quebec

The Transportation Safety Board of Canada (TSB) investigated this occurrence for the purpose of advancing transportation safety. It is not the function of the Board to assign fault or determine civil or criminal liability. This report is not created for use in the context of legal, disciplinary or other proceedings. See Ownership and use of content. Masculine pronouns and position titles may be used to signify all genders to comply with the Canadian Transportation Accident Investigation and Safety Board Act (S.C. 1989, c. 3).

Table of contents

    Summary

    On 27 September 2003, during a voyage from Bas Caraquet, New Brunswick, to Makkovik, Labrador, the fishing vessel Evan Richard, with three persons on board, dropped anchor a few hundred metres off the coast of Anticosti Island, Quebec. On 29 September, the crew was awakened by strong winds from the south-southeast. The weather was deteriorating rapidly with the approach of the tropical storm Juan.

    During a manoeuvre to leave the anchorage, the boat started to ship water. A short time later, the after deck was flooded and a Mayday was broadcast as the Evan Richard quickly settled. The occupants sought refuge on top of the wheelhouse which was the only part of the vessel still above water. While attempting to swim to the inflatable boat that the Evan Richard was towing as a lifeboat, the master fell in the water and drifted towards the island.

    The Evan Richard was driven onto the beach of Anticosti Island about 3 nautical miles from the position where the Mayday was broadcast. The master was picked up on the shore by a Search and Rescue helicopter, but the other two persons are still missing.

    Factual information

    Particulars of the vessel

    Name "EVAN RICHARD"
    Official number 368620
    Port of registry Caraquet, New Brunswick
    Flag Canada
    Type Scallop dragger (since 2003)
    Gross TonnageFootnote 1 13.62
    LengthFootnote 2 9.4 m
    Cargo Construction materials, scallop drags, barrels of diesel fuel
    Crew 3
    Built Wooden construction by A.L. Leblanc Ltd. of Lower Wedgeport, Nova Scotia, in 1974; covered with fibreglass in 1990; refitted by J. & O. Doiron Ltd. of Pokesudie, New Brunswick, in 2003
    Propulsion One Volvo Penta diesel, 220 HP
    Owner Private

    Description of the vessel

    The Evan Richard was originally a "Cape Islander" designed for lobster fishing, for which it was primarily used until 2002, when it was purchased by its last owner. In the late summer of 2003, it was converted to a scallop dragger. The conversion consisted of the following modifications:

    • installation of a 1.2 m platform aft;
    • refit of the weather deck;
    • bulwark raised 104 mm;
    • wheelhouse lengthened by 1.2 m;
    • refit of the accommodation;
    • fuel tank replaced with a larger one;
    • installation of a derrick and hydraulic rigging for scallop fishing;
    • installation of a VHF radiotelephone, radar and integrated electronic chart display information system, sounder and magnetic compass;
    • installation of power assist on the hydraulic steering gear and an automatic pilot.
    Photo 1. Front view of Evan Richard
    Image
    Photo 1. Front view of Evan Richard
    Photo 2. Rear view of Evan Richard
    Image
    Photo 2. Rear view of Evan Richard

    On the Evan Richard, a non-watertight sliding door provided access from the accommodation to the after deck, which was watertight. On the after deck, there were two flush watertight hatches, one giving access to the steering gear and the other to the aft portion of the machinery space. Three other non-watertight openings in the wheelhouse allowed access to the engine compartment. One last non-watertight opening provided access to the bilge and the pump for the accommodation toilet. In the light condition, the Evan Richard had approximately 10 cm of freeboard at the after deck level (see Appendix A). Two scuppers with a diameter of 5 cm had been drilled through the bulwark on each side of the after deck about 1 cm above the deck, which was not continuous. There was no watertight transverse bulkhead. To drain the bilge, the boat was fitted with two float-activated electric pumps and one pump driven by the main engine. The latter pump was used to cool the exhaust gas from the main engine, to pump seawater onto the after deck to clean the catch and the deck, and to pump out the bilge.

    History of the voyage

    After a major refit at the shipyard in Pokesudie, New Brunswick, the Evan Richard was launched on 20 September 2003. A few sea tests were conducted on 21 September. Over the following days, the crew loaded the boat and prepared it for the voyage. On 26 September, the Evan Richard left the marina at Bas Caraquet, New Brunswick, for Makkovik on the Labrador coast. An inflatable boat was towed as a lifeboat.

    Figure 1. Sketch of the area
    Image
    Figure 1. Sketch of the area

    Since the master preferred to sail by day, the first stopover was made on the evening of 26 September at Anse-à-Beaufils on the Gaspé Peninsula. The next morning, without having prepared a voyage plan, the boat headed for Anticosti Island. Late that evening, the crew dropped anchor a few hundred metres from the shore in Goélands Bay, located approximately 1.5 nautical miles northwest of Pointe de l'Est.

    The vessel spent the day of 28 September at anchor; a strong wind was blowing from the south-southeast, and the crew decided to stay in that sheltered position. The crew took the inflatable boat and spent the day visiting the island. They tried to get a weather report on VHF channel 9 using the radiotelephone, but to no avail.

    On 29 September, the master awoke at approximately 0530 Newfoundland daylight timeFootnote 3 and observed that the weather conditions were deteriorating. The wind had changed direction and was now coming from the southeast. The wind was stronger now and the boat was rolling dangerously. At approximately 0600, the master decided to leave the anchorage; he woke up the two crew members and told one of them to raise the anchor. At 0604:44, the master sent out a Mayday on VHF channel 16, then attempted a manoeuvre to leave the anchorage.

    Using the power assist, the vessel was turned and hove to. The master noted on the rudder position indicator that the rudder was hard to starboard, while the Evan Richard sheered to starboard. At one point, the master tried to stabilize the boat using the power assist control lever, but the wheel did not seem to respond. When the boat was beam to the seas, it was shipping water on the after deck. At 0614:26, seeing that he could not steer the boat, the master transmitted another Mayday. The boat was downflooding and slowly sinking. Only the top of the wheelhouse remained out of the water.

    The master tried to reach the inflatable boat, but he was struck by a heavy sea and thrown overboard. He grasped some boards that were floating around him and drifted towards the shore; after several attempts, he was able to scale the cliff. The last time the master saw the other two crew members, they were on the top of the wheelhouse.

    Search and rescue operation

    The first Mayday sent by the Evan Richard on 29 September was received by the Marine Communications and Traffic Services (MCTS) at Rivière-au-Renard, Quebec. The boat reported being in difficulty at 49°10′48″ North latitude and 061°42′14″ West longitude. The second Mayday was the last message received from the Evan Richard by MCTS. Within minutes, the Rivière-au-Renard MCTS transmitted a Mayday Relay and advised the Marine Rescue Sub-centre in Québec, Quebec. In the meantime, the search was being organized. An aircraft and two helicopters from the National Search and Rescue Program (NSRP), three Canadian Coast Guard (CCG) vessels and two commercial vessels were dispatched to the site. Land guides on the island were also assigned to the operation.

    At 0924, the NSRP aircraft saw debris in the area identified as being the site of the sinking. After flying over the site for the first time at 1115, one of the NSRP helicopters landed near the shore of Sandtop Bay on Anticosti Island. While discussing the situation with the land guides, the members of the NSRP team spotted the master safe and sound. The helicopter took off a short time later with the master to continue the search and proceeded to Gaspé, Quebec, to refuel and disembark the master.

    The Search and Rescue operation was halted at 1900 on 30 September, over 36 hours after the sinking. The case was handed over to the Sûreté du Québec detachment in Havre-Saint-Pierre, Quebec.

    Injuries to persons

    The two seamen have not been found and were reported missing.

    Damage

    The Evan Richard was damaged when it went aground on shore about 3 nautical miles from the position where the Mayday was broadcast. It was completely destroyed by the waves and is now considered a total loss.

    Photo 3. The Evan Richard on an Anticosti Island beach a few hours after sinking
    Image
    Photo 3. The Evan Richard on an Anticosti Island beach a few hours after sinking
    Photo 4. The wreckage of the Evan Richard on an Anticosti Island beach on 03 October 2003
    Image
    Photo 4. The wreckage of the Evan Richard on an Anticosti Island beach on 03 October 2003

    Certification

    The master of the Evan Richard holds a fishing master, third-class certificate issued in 1994 and a watchkeeping engineer, motor-driven fishing vessel certificate issued in 1985.

    Vessel certification and inspection

    Under the existing regulations, the Evan Richard was not required to be inspected because its gross tonnage was less than 15. Furthermore, the boat had not been inspected after its refit in 2003. The Evan Richard was required to meet the requirements of the Ship Station (Radio) Regulations, 1999, but it was not required to be inspected or to have a radio certificate.

    Navigation instruments and documentation

    The navigation equipment on the Evan Richard included a magnetic compass, an echo-sounder, a radar and a global positioning system (GPS). There was also a marine VHF radiotelephone on board, but it was not approved by Transport Canada and it did not have a digital selective calling (DSC) feature. The vessel was equipped with an electronic chart system and paper marine charts, but it did not have Sailing Directions, Radio Aids to Marine Navigation, or Notices to Mariners.

    Steering gear

    Figure 2. Schematic of power assist electrical circuit on the Evan Richard
    Image
    Figure 2. Schematic of power assist electrical circuit on the Evan Richard

    Before its refit, the steering gear on the Evan Richard was activated by a manual hydraulic telemotor. The wheel was connected directly to a hydraulic pump and connected through two hydraulic lines to a cylinder, which in turn was attached to the rudder stock. When the wheel was turned, hydraulic pressure was transmitted to the cylinder, which turned the rudder.

    In the refit, a power assist and an automatic pilot were added to the steering gear. With this addition, besides the telemotor, the vessel could be steered by the power assist using a control lever or by the automatic pilot using a sensor installed on the magnetic compass connected to the control panel (see Figure 2).

    During the installation, a 20 A fuse was added between the drive interface and the power unit (see "A" in Figure 2). Experience showed that the power unit of the steering gear tended to fail at sea. The fuse was added to limit maintenance and the need to replace this part.

    On the sea trials during the days preceding the departure, the master told the technician that the fuse blew several times. Evaluation indicated that the fuse blew when the wheel was held hard right or hard left; the system was not equipped with a limit switch. This caused an overload in the circuit and blew the 20 A fuse. To solve this problem, it was suggested that a different type of power assist be installed, but the master decided to keep the system already installed due to the additional replacement cost.

    Rescue equipment

    There were no liferaft, immersion suits or emergency position indicating radio beacon (EPIRB) on the Evan Richard. None of this rescue equipment is required on a fishing vessel with a gross tonnage of 15 or less.

    An inspection by the insurance company on 17 September 2003 indicated that there were no lifejackets on board. However, the master confirmed that he had purchased three personal flotation devices (PFDs) prior to departure on the accident voyage. At the time of the sinking, none of the crew members was wearing a PFD. As a lifeboat, the Evan Richard was towing an inflatable boat about 3 m in length. This boat was not used at the time of the sinking and was not found after the accident.

    Loading

    The Evan Richard was designed for fishing, but its owner used it for operations for which it was not intended. In this case, the Evan Richard was carrying a load of lumber about 1.5 m high that completely covered the after deck. The lumber on the deck protruded approximately 1.65 m aft of the transom. The lumber was held in place by one nylon rope running thwartships and attached to steel eyelets screwed into the top of the bulwark. On top of the lumber were six scallop drags. Also, two barrels of diesel fuel were stowed on the forecastle and two more aft of the accommodation. In addition, three cylinders of propane were stowed on top of the bridge. The total weight of some 6570 kg was distributed as follows:

    • 2100 kg of lumber (estimated as dry);Footnote 4
    • 680 kg (6 scallop drags);
    • 690 kg of diesel fuel in four barrels;
    • 100 kg of propane in three cylinders.
    Photo 5. Aft view of the Evan Richard with its load prior to departure from Bas Caraquet
    Image
    Photo 5. Aft view of the Evan Richard with its load prior to departure from Bas Caraquet

    Further, it is estimated that there was approximately 3000 kg of diesel fuel in the aft fuel tank.

    There were no freeboard marks or load lines on the Evan Richard. When the boat was loaded, the distance between the surface of the water and the top of the bulwark was some 45 cm (see Appendix A). The scuppers had been blocked with wooden plugs, but since they were not watertight, an electric pump was installed to discharge water from the after deck.

    Weather information

    On 26 September, the forecast for the next 36 hours issued by Environment Canada for the Chaleur-Miscou and Anticosti areas was winds from the southwest at 10 to 15 knots increasing to 15 to 20 knots from the southeast Saturday afternoon for Chaleur-Miscou and to 20 knots Saturday evening for Anticosti. Strong winds were forecast for a considerable period of time. On 27 September at 1530, a gale warning was issued for Chaleur-Miscou and Anticosti. On 28 September at 1530, the warning for the Anticosti area was replaced with a storm warning, which remained in effect until the afternoon of 29 September.

    In the days preceding the voyage, hurricane Juan came up the east coast of the United States and hit Nova Scotia on 28 September. On 29 September, as a tropical storm, the depression had reached the North Shore around Natashquan, Quebec. Winds from the south-southeast at 46 knots were recorded at the Pointe Heath observation station on Anticosti Island.

    Analysis

    Refit not reported to authorities

    There are over 20 000 fishing vessels registered in Canada, including over 15 000 with a gross tonnage of under 15 (see Appendix B). At least 76 per cent of Canada's fleet of registered fishing vessels are operated according to the minimum regulatory requirements of the inspection and certification system. Without any real support, the owners and masters of these vessels equip and operate their boats as they wish.

    It is interesting to note that, among this latter group of small fishing vessels, including the Evan Richard, the owners are not required to have their vessels inspected. However, if an inspection is conducted by Transport Canada, it is done only as a courtesy. Before embarking on its last voyage, the Evan Richard had undergone a major refit to convert it from a lobster boat to a scallop dragger. Major modifications had been done to adapt it for the scallop fishery. However, like many other small fishing vessels, the refit was not reported to Transport Canada. This failure to report refits remains a systemic problem that threatens the safety of fishers.

    Consequently, it is up to the owners and masters to see that their vessels comply with the regulations, that the equipment on board is suitable, that the equipment is installed according to the manufacturer's instructions, and that it is operating properly.

    Failure of power assist

    According to the information received, the steering gear failed when the power assist was used to heave to. Inspection of the power assist circuits revealed that a fuse connected in series between the steering gear power unit and the drive interface had blown.

    To protect the power unit of the steering gear from current variations when the system is operating normally, the manufacturer provided 30 A thermal protection inside the drive interface. According to the manufacturer, adding a 20 A fuse (see "A" in Figure 2) does not increase system safety and can even prevent it from operating properly.

    It is important to note that the system was designed so that the steering gear would be used with either the telemotor or the power assist. Therefore, when the power assist failed, the telemotor could have been used to steer. In other words, the steering gear did not fail.

    Fishing vessel overloaded

    The Evan Richard was designed for lobster fishing. Approximately 100 lobster traps could be stowed on the after deck, representing a total weight of some 3000 kg. At the time, fishers considered it hazardous to load this boat with that many lobster traps, and they waited for calm seas before going out.

    The Evan Richard had a cargo of some 6570 kg, which was about twice the usual cargo weight at the time. With this cargo, the after deck was approximately 20 cm below the waterline and the plugged scuppers were not watertight (see Appendix A). The electric pump used to discharge water from the after deck had to operate throughout the whole voyage to keep the crew safe.

    The existing regulations for fishing vessels with a gross tonnage of under 15 do not provide for stability testing before putting the vessel into service. As a result, there is no information regarding vessel stability and operation on board these small commercial vessels. As well, there are no regulations regarding freeboard marks and load lines; this safety measure does not exist on any fishing vessels. Therefore, every fishing master is responsible for evaluating the safety limit to which the vessel can be loaded.

    Although it was not mandatory, the master of the Evan Richard held a fishing master certificate. In addition, he had several years of experience at sea as the master of a fishing vessel with a gross tonnage of over 165, on which a stability booklet is mandatory. However, although the master had this level of experience, the boat was overloaded.

    Deficiencies in training and on-board documentation

    Although Transport Canada issues fishing master certificates, the regulations do not apply to the majority of mariners whose principal occupation is commercial fishing. About 94 per cent of all registered fishing vessels have a gross tonnage of less than 60. The only training that these mariners will have to take is marine emergency duties, and this requirement will not be in effect until 2007. To be able to assess the effect of cargo on the dynamic behaviour of a vessel, the crew must understand certain principles of stability and have some general knowledge of loading and vessel construction.

    Since 1979, the topic "general knowledge of the vessel" has been included in the syllabus of knowledge required to earn a fishing master, first-class, second-class, or third-class certificate. In spite of this, there is a deficiency with regard to stability. To correct this deficiency, the CCG published a booklet entitled Introduction to Fishing Vessel Stability (TP 8161). The booklet provides an introduction to the principles of stability and the factors that affect stability. In 2002, Transport Canada added to the syllabus the requirement to understand the principles of stability in order to qualify for a fishing master, first-class, second-class, or third-class certificate. However, when the master of the Evan Richard was in training to qualify for a fishing master, third-class certificate, he was not required to learn about stability.

    In 1989, the CCG published a booklet entitled Small Fishing Vessel Safety Manual (TP 10038). Today, this booklet re-issued by Transport Canada is mainly intended for masters and operators of small fishing vessels of under 24 m who do not hold a certificate of qualification or who have had only limited occupational training.

    There is no regulatory requirement for stability testing for fishing vessels with a gross tonnage of 15 or less that are not sailing vessels.Footnote 5 Yet, most appliances that we buy, irrespective of their size and intended purpose, are sold with a user manual. With no specific information on the stability of their vessel, the owners and masters of these small fishing vessels are limited in the decisions that they must make regarding loading parameters and limits.

    Lacking appropriate documentation and adequate training on stability, the owner/master of the Evan Richard exceeded the safe loading limits. As stated in the TSB investigation report (M01L0112) on the accident involving the Alex B. 1, various actions have been undertaken by provincial governments and Transport Canada to raise safety awareness among fishers. However, without an obligation to have an operating manual and stability booklet on all fishing vessels, and to have owners take training suited to their occupation, fishers will continue to operate their vessels as they wish.

    Voyage planning

    Fishers tend to overestimate the seaworthiness of their vessels and underestimate the forces of nature. Sound planning is essential for a successful voyage. Planning must make use of all resources available. Without the complete documentation, it is difficult to plan options in the event of an emergency, for example, to select an alternate anchorage or to consult a document to determine on what frequency weather reports are broadcast.

    As stated above, fishing master certificates do not apply to the majority of masters of small fishing vessels. In other words, masters are not required to take specific training. However, the Transport Canada publication Small Fishing Vessel Safety Manual (TP 10038) contains a chapter devoted to weather information that explains the effects of weather on a small vessel.

    At approximately 0600 on 29 September 2003, a peak wind of 46 knots from the south-southeast was recorded at the Pointe Heath observation station. The Evan Richard had anchored 5.5 nautical miles from the observation station. This initial choice as an anchorage was not an unwise decision, since this location was satisfactory until the evening of 28 September. However, in less than 12 hours, the wind changed direction and doubled in velocity, and the seas rose to approximately 6 m; the anchorage was no longer sheltered. If radio watch had been maintained on one of the frequencies that provided weather forecasts, the crew would have known that their anchorage was no longer adequate.

    Environment Canada weather reports are broadcast by the CCG MCTS all day on channels reserved for that purpose, namely VHF 21B, 25B and 83B on the Atlantic coast and the Great Lakes. Environment Canada also provides the service WeatherRadio Canada on VHF channels WX1, WX2 and WX3. Weather reports are also broadcast on AM and FM radio. No weather information is broadcast on VHF channel 9 in the area of Anticosti Island. Mariners are responsible for considering the weather when planning a voyage.

    In 1979, the CCG introduced an exam on meteorology to qualify for a fishing master, first-class or second-class certificate. It was not until 2002 that Transport Canada added this subject to the syllabus for the fishing master, third-class certificate. Since the master of the Evan Richard had received his certificate in 1995, he was not required to take this training.

    Choice of rescue equipment

    The Evan Richard was on a home-trade voyage, Class III. Although the boat sank just a few hundred metres from the coast, the two seamen have not been found. Furthermore, the Evan Richard came close to disappearing without a trace; the last Mayday was received with difficulty by the MCTS at Rivière-au-Renard.

    The current regulations that apply to fishing vessels like the Evan Richard require that every person on board must have a lifejacket. The regulations also require that decked fishing vessels with a gross tonnage of over 15 be equipped with a lifeboat, boat, dory, skiff or seiner to accommodate all persons on board. Furthermore, if the fishing vessel exceeds 12.2 m in length, a liferaft is also required. However, fishing vessels of 150 gross tons or more or 24.4 m or more in length are required to be equipped with immersion suits when they are engaged in voyages other than home-trade voyages, Class IV and minor waters voyages, Class II. The Evan Richard was towing a lifeboat, but because it was incorrectly positioned and incorrectly attached, it could not be used by the crew. Since the seamen could not swim, an inflatable raft, an immersion suit or lifejackets strategically positioned near the accommodation would have enabled these men to make it to shore safely.

    The Evan Richard was not required to have an EPIRB on board. Under the existing regulations, only fishing vessels under 15 gross tons of a length of 8 m or more and which are engaged in home-trade voyages, Class I or II or foreign voyages are required to have an EPIRB on board. An EPIRB that activates automatically could have transmitted a specific Mayday signal, which would have limited the search perimeter to the minimum.

    Findings

    Findings as to causes and contributing factors

    1. The Evan Richard was overloaded to the point where the scuppers were submerged, thereby facilitating downflooding.
    2. When the power assist failed, the master did not use the steering telemotor.
    3. The anchorage chosen provided little shelter from winds and waves from the southeast.

    Findings as to risk

    1. Under the existing regulations, fishing vessels with a gross tonnage under 15, which represent 76 per cent of all fishing vessels registered in Canada,
      1. are not tested for stability and have no operating manual,
      2. are not required to be inspected by Transport Canada or to be inspected after a refit.
    2. Like all fishing vessels in Canada, the Evan Richard had no freeboard marks or load lines to limit the loaded draught.
    3. Fishing vessels with a gross tonnage of less than 150 or a length of 24.4 m or less are not required to carry a liferaft or immersion suits.
    4. Under the existing regulations, only fishing vessels with a gross tonnage of less than 15 and a length of 8 m or more when engaged in home-trade voyages, Class I or II or foreign voyages are required to have an emergency position indicating radio beacon (EPIRB) on board.
    5. Fishing masters who received their third-class certificates before 2002 did not receive training on vessel stability and meteorology and are not required to have such training.

    Other findings

    1. Transport Canada issues fishing master certificates, but 94 per cent of the masters of fishing vessels registered in Canada are not required to have a fishing master certificate.

    Safety action

    Transport Canada

    The Small Fishing Vessel Inspection Regulations are part of the first phase of the regulatory reform undertaken by Transport Canada to implement the Canada Shipping Act, 2001. Despite the progress made in implementing the work of the various teams, implementation of this new Act and the regulations made thereunder is not scheduled until 2006.

    Based on the 1993 proposal, which has not been enacted, Transport Canada started a major review of the regulations applicable to all fishing vessels. The first phase concerns fishing vessels with a gross tonnage of less than 150; the Small Fishing Vessel Inspection Regulations covers this group of vessels. Further to biennial meetings of the Canadian Marine Advisory Council (CMAC), sponsored by the CMAC's Standing Committee on Fishing Vessel Safety and to public consultations including fishers held in several communities, Transport Canada filed a working document in February 2004 to be used as a reference document in the next round of public consultations and, consequently, in drafting the new Small Fishing Vessel Inspection Regulations.

    Amendments are anticipated in the following areas:

    • voyage classifications;
    • lifesaving equipment;
    • inspections;
    • stability and seaworthiness;
    • construction (a technical standard), plans and information;
    • operation and maintenance;
    • navigation safety and radiocommunication equipment; and
    • certification and training.

    Transport Canada intends to develop a new regulatory regime including regulations and standards that will ensure an acceptable level of risk and that can be suitably administered within the national and international regulatory framework.

    This report concludes the Transportation Safety Board's investigation into this occurrence. Consequently, the Board authorized the release of this report on .

    Appendices

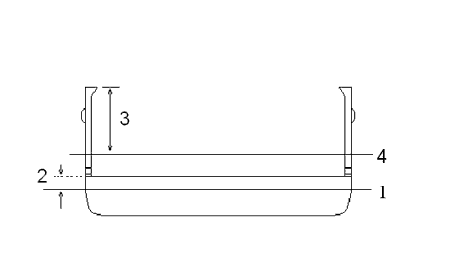
    Appendix A - Cross-section of the Evan Richard

    Legend

    1. Waterline in light condition.
    2. Distance between waterline and watertight after deck: approximately 10 cm in light condition (not to scale).
    3. Distance between surface of water and top of bulwark: approximately 45 cm.
    4. Waterline when loaded on departure from Bas Caraquet.

    Appendix B - Fishing vessels registered in CanadaFootnote 6

    Remarks

    1. 15 469 fishing vessels have a gross tonnage of 15 or less, which represents 76 per cent of the Canadian fleet.
    2. 19 020 fishing vessels have a gross tonnage of 60 or less, which represents 94 per cent of the Canadian fleet.
    3. 3336 fishing vessels have a gross tonnage greater than 14 but not over 15; this group represents 15 per cent of the Canadian fleet.

    Appendix C - Glossary

    A
    ampere(s)
    CCG
    Canadian Coast Guard
    cm
    centimetre(s)
    CMAC
    Canadian Marine Advisory Council
    DSC
    digital selective calling
    EPIRB
    emergency position-indicating radio beacon
    GPS
    global positioning system
    HP
    horsepower
    IMO
    International Maritime Organization
    kg
    kilogram(s)
    m
    metre(s)
    MCTS
    Marine Communications and Traffic Services
    mm
    millimetre(s)
    NSRP
    National Search and Rescue Program
    PFD
    personal flotation device
    SI
    International System (of units)
    TP
    Transport Canada publication
    TSB
    Transportation Safety Board of Canada
    VHF
    very high frequency
    °
    degree(s)
    minute(s)
    second(s)